西安科技大学

安全工程专业课程

矿山压力与岩层控制


金洪伟 & 双海清

安全科学与工程学院

返回目录⇡

如何浏览?

  1. 从浏览器地址栏打开 https://zimo.net/ky/
  2. 点击链接打开演示文稿,使用空格键或方向键导航;
  3. f键进入全屏播放,再按Esc键退出全屏;
  4. s键打开演讲者视图(在多屏播放时有用);
  5. Alt键同时点击鼠标左键进行局部缩放;
  6. Esco键进入幻灯片浏览视图。

请使用最新版本浏览器访问此演示文稿以获得更好体验。

第三章 采场覆岩结构
与顶板破断规律

目 录

  1. 概述
  2. 有关采场覆岩结构的假说
  3. 直接顶的初次垮落
  4. 基本顶的断裂形式
  5. 基本顶的初次断裂步距
  6. “砌体梁”结构及其稳定性
  7. 基本顶断裂时在岩体内引起的扰动
  8. 岩层控制的关键层理论

第一节 概述

一、基本概念

采场
在煤层或矿床的开采过程中,一般把直接进行采煤或采有用矿物的工作空间称为回采工作面,或简称采场
顶板
赋存在煤层之上的岩层称为顶板上覆岩层
底板
位于煤层下方的岩层称为底板下伏岩层

一、基本概念

直接顶
一般把直接位于煤层上方的一层或几层性质相近的岩层称为直接顶。它通常由具有一定稳定性,且易于随工作面回柱放顶或支架前移而垮落的页岩、砂页岩或粉砂岩等岩层组成。
伪顶
在煤层与直接顶之间有时存在厚度小于0.3~0.5m、极易垮落的软弱岩层,称为伪顶。它随采随冒,一般为炭质页岩、泥质页岩等岩层组成。
基本顶
通常把位于直接顶之上(有时直接位于煤层之上),对采场矿山压力直接造成影响的厚而坚硬的岩层称为基本顶,也称老顶。一般是由砂岩、石灰岩及砂砾岩等岩层组成。

二、采空区的处理方法

回采工作空间的形式

(a)采用刀柱法(或留煤柱)时;(b)采用顶板缓慢下沉法时;
(c)采用全部充填或局部充填法时;(d)采用全部垮落法时

在上图 (b)、(c)、(d) 的回采工作空间中,前方顶板由煤壁支撑,后方采空区则由煤层底板、充填物或已冒落的矸石支撑。

二、采空区的处理方法

全部垮落法回采工作空间的变化

(a)开切眼;(b)基本顶垮落前;(c)基本顶垮落后

各种采空区处理方法存在一定的联系。在上图中 (a) 相当于巷道,(b) 的工作空间又类似于采用刀柱法处理采空区的状况,(c) 又相当于采高为 $\Sigma h + m$ 的矸石充填法。

三、上覆岩层“大结构”

第二节 有关采场覆岩结构的假说

为了揭示采场覆岩是否存在“大结构”,以及这些“大结构”是什么,存在多种矿山压力假说

一、压力拱假说

压力拱假说

a—前拱脚;b—后拱脚
1—顶板内压力拱轴线;
2—底板内压力拱轴线

德国,Hack & Gillitzer,1928

在回采工作面上方,由于岩层自然平衡的结果而形成了一个“压力拱”。拱的一个支撑点是在工作面前方煤体内,形成了前拱脚 a,而另一个支撑点在采空区内已垮落的矸石上或采空区的充填体上,形成了后拱脚 b。随着工作面推进,前、后拱脚也将向前移动,ab 均为应力增高区,工作面则处于应力降低区。在前、后拱脚之间,无论在顶板或底板中都形成了一个减压区,回采工作面的支架只承受压力拱内的岩石重量。

二、悬臂梁假说

悬臂梁假说

德国,Stoke,1916

工作面和采空区上方的顶板可视为梁,它一端固定于岩体内,另一端则处于悬伸状态。当顶板由几个岩层组成时,形成组合悬臂梁。在悬臂梁弯曲下沉后,受到已垮落岩石的支撑,当悬伸长度很大时,发生有规律的周期性折断,从而引起周期来压。

三、铰接岩块假说

铰接岩块假说

1—不规则冒落带;
2—规则垮落带;
3—规则移动带(裂隙带)

前苏联,库兹涅佐夫,1950—1954

工作面上覆岩层的破坏可分为垮落带和其上的规则移动带。垮落带分上下两部分,下部垮落时,岩块杂乱无章,上部垮落时,则呈规则的排列,但与规则移动带的差别在于无水平方向有规律的水平挤压应力的联系。规则移动带岩块间可以相互铰合而形成一条多环节的铰链,并规则地在采空区上方下沉。

四、预成裂隙假说

预成裂隙假说

Ⅰ—应力降低区;
Ⅱ—应力增高区;
Ⅲ—采动影响区

比利时,拉巴斯,20世纪50年代

由于开采的影响,回采工作面上覆岩层的连续性遭到破坏,从而形成为非连续体。在回采工作面周围存在着应力降低区、应力增高区和采动影响区。随着工作面推进,三个区域同时相应地向前移动。

四、预成裂隙假说

顶板岩层的假塑性弯曲

由于开采后上覆岩层中存在着各种裂隙,从而使岩体发生很大的类似塑性体的变形,因而可将其视为假塑性体。当这种被各种裂隙破坏了的假塑性体处于一种彼此被挤紧的状态时,可以形成类似梁的平衡;在自重及上覆岩层的作用下,将发生明显的假塑性弯曲;当下部岩层的下沉量大于上部岩层时,就产生离层。

五、砌体梁假说

我国学者在总结铰接岩块假说预成裂隙假说的基础上,以及在大量生产实践对岩层内部移动进行现场观测的基础上,于20世纪70年代末80年代初提出了岩体结构的“砌体梁”力学模型,从而发展了上述有关假说。

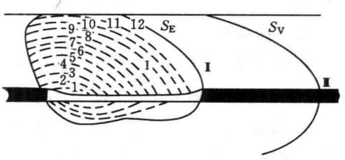
1. 实测基础

通过岩层移动的深基点观测,得出了各层覆岩的移动曲线。

实测煤层顶板以上不同层位岩层的移动曲线

1. 实测基础

覆岩移动特点:

  • 岩层相对工作面位置与下沉量间符合负指数函数关系曲线。
  • 从工作面到前方 30~40m 范围,岩层水平移动量大,垂直移动量小,甚至还会出现上升现象。该区域称为煤壁支撑影响区,对应上图曲线中的 ab 段。
  • 工作面后方 4~8m 以后,垂直位移急剧增加,越向上岩层移动速度越慢,从而导致此区域内岩层间的离层。该区域称为离层区,对应上图曲线中的 bc 段。
  • 再往后,已断裂的岩层重新受到已冒落矸石支撑,变形曲线又趋于缓和,越靠下岩层移动速度越慢,导致覆岩被重新压实。该区域称为重新压实区,对应上图曲线中的 cd 段。

2. 建模方法

  • 岩体结构中的骨架是坚硬岩层,坚硬岩层上方的软弱岩层可视为作用于骨架上的载荷,以及联接更上方坚硬岩层的垫层;
  • 工作面推过后,上方坚硬岩层会断裂成排列整齐的岩块,岩块间受水平推力而形成铰接关系;
  • 用可压缩性支杆代表两坚硬岩层之间垫层的联接作用;
  • 断裂岩块回转恢复水平后,其间的铰接关系用水平连杆表示;
  • 表土层可视为均布载荷。

3. 力学模型

砌体梁力学模型—岩体形态(“横三区”、“竖三带”)

A—煤壁支撑影响区;B—离层区;C—重新压实区
Ⅰ—垮落带;Ⅱ—裂缝带;Ⅲ—弯曲下沉带

3. 力学模型

砌体梁力学模型—岩体结构形态

3. 力学模型

砌体梁力学模型—结构受力状态

Q—岩块自重及其载荷;Ri—支撑力;Ri-j—岩块间的剪切力;T—水平推力

4. 模型求解及应用

  • 具体给出了破断岩块的咬合方式及平衡条件,以及模型的解析解;
  • 讨论了基本顶断裂时在岩体中引起的扰动;
  • 证明了基本顶破断后岩块在一定条件下互相挤压咬合会形成结构:外形似,实质为以煤壁为支点的半拱结构,即砌体梁结构;
  • 解释了多种采场矿压现象;
  • 得出了工作面基本顶形成的“砌体梁”结构中关键块的两种失稳形式:滑落(Sliding)失稳和回转(Rotation)变形失稳(简称“S—R”失稳),建立了失稳判别方法;
  • 基于“S—R”失稳进一步分析和确定了支架承受的载荷和变形;
  • 进一步发展出关键层理论

5. 评价

“砌体梁”力学模型被认为是迄今解释采场矿山压力最完善的力学模型,是对传统定性假说的重大突破,它很好地解释了采场矿山压力显现规律,为采场矿山压力的控制及支护设计提供了理论依据。

“砌体梁”假说结合现场观测和生产实践的验证已得到公认,在指导我国煤矿采场矿压理论研究和生产实践方面都起到了重要作用。

第三节 直接顶的初次垮落

煤层开采后,将首先引起直接顶的垮落。回采工作面从开切眼开始向前推进,直接顶悬露面积增大,当达到其极限跨距时开始垮落。直接顶的第一次大面积垮落称为直接顶初次垮落

直接顶初次垮落前
直接顶初次垮落后采空区情形

第三节 直接顶的初次垮落

直接顶初次垮落的标志是:直接顶垮落高度超过1~1.5m,范围超过全工作面长度的一半。此时直接顶的跨距称为初次垮落距

若直接顶初次垮落前,其变形大于上覆基本顶,就会出现直接顶与基本顶之间的离层,这时容易在初次放顶期间发生推垮型事故。

直接顶初次垮落后,一般将随着回柱放顶而在采空区垮落。

第三节 直接顶的初次垮落

直接顶初次垮落后采空区情形

直接顶岩石垮落破碎后,杂乱堆积,岩体的总体力学特性类似于散体。由于岩层破碎后将产生膨胀,其堆积高度要大于直接顶岩层原来的厚度。

若直接顶岩层的垮落厚度为 Σh,则垮落后堆积的高度为 KpΣh。它与基本顶之间可能留下的孔隙 Δ 为:

\[\Delta =\Sigma h+M-{{K}_{p}}\Sigma h=M-\Sigma h \left( {{K}_{p}}-1 \right)\]

式中,M 为煤层厚度,Kp 为直接顶岩层碎胀系数。

第三节 直接顶的初次垮落

当 \(M=\Sigma h\left( {{K}_{p}}-1 \right)\) 时,Δ=0,即冒落的直接顶将充满采空区。此时,基本顶一般的弯曲下沉量较小,常可忽略不计。因此,充满采空区所需直接顶的厚度为:

\[\Sigma h\text{=}\frac{M}{{{K}_{p}}-1}\]

直接顶冒落后对采空区的充实程度对上方基本顶的活动有重要影响。冒落岩块对采空区的充填愈严实,基本顶愈完整,基本顶来压对工作面的影响也越小;反之,基本顶来压对工作面影响越大。

第四节 基本顶的断裂形式

基本顶初次破断前的“板”与“梁”结构

在直接顶初次垮落后,其上方的基本顶呈悬露状态。此时,可视基本顶为一悬露的,而沿中部剖面则为一悬露的

本节分别将基本顶视作梁和拱,分析其受力状态,以及可能的破断形式。

第四节 基本顶的断裂形式

一、基本顶的梁式破断

直接顶初次垮落后,基本顶呈悬露状态。由于回采工作面沿倾斜方向的长度远大于基本顶沿走向悬露的跨距,因此可将基本顶视为一端由工作面煤壁、另一端由边界煤柱支撑的梁,即所谓“”的假说。这时可用材料力学中“梁”的理论对基本顶的受力及破断进行分析。

一、基本顶的梁式破断

1. 将基本顶简化为固支梁

适用于深部开采条件。

在固支梁的两端,剪力和弯矩均最大,梁更容易在两端首先发生破坏(拉断或剪断)。

2. 将基本顶简化为简支梁

适用于浅部开采条件。

在简支梁的两端,剪力最大;在简支梁的中部,弯矩最大;梁可能首先在两端破坏(剪断),也可能首先在中部破坏(拉断)。

固支梁的受力分析


简支梁的受力分析

第四节 基本顶的断裂形式

二、基本顶的板式破断

同时可将基本顶视为薄板,按薄板理论对其进行求解。

基本顶支撑条件的简化

(a)四周固支;(b)三边固支,一边简支;
(c)两边固支,两边简支;(d)一边固支,三边简支

二、基本顶的板式破断

基本顶“O—X”型破断形式

基本顶的“O—X”型破断

以四周固支的板为例,弯矩的绝对值最大是发生在长边的中心部位,因而首先将在此形成断裂(a),而后在短边的中央形成裂缝(b),待四周裂缝贯通而呈“O”形后,板中央的弯矩又达到最大值,超过强度极限而形成裂缝,最后形成“X”形破坏(c)。

当采场处于一边采空的条件下(即该边简支),其破断规律与四周固支时相近。

基本顶的竖“O-X”形破断
基本顶的正“O-X”形破断
基本顶的横“O-X”形破断

第五节 基本顶的初次断裂步距

基本顶达到初次断裂时的跨距称为极限跨距,也称为初次断裂步距

以下为梁式破断时极限跨距的计算方法:

  1. 将初次断裂前的基本顶简化为仅在上方受均布压力的固支梁或简支梁,根据材料力学计算得出梁各处的剪力和弯矩分布(见上一节);
  2. 对于不同的梁类型,寻找最大剪力或弯矩在位置;
  3. 将基本顶断裂的原因归结为岩石的拉伸或剪切破坏,剪切破坏发生在最大剪力处,拉伸破坏发生在最大弯矩处;
  4. 分别计算最大剪力和弯矩处的最大剪应力和最大拉应力,当梁发生破坏时,他们应分别等于岩石的抗剪强度(可由摩尔-库伦准则求得)和单轴抗拉强度,从而分别得出两个等式;
  5. 从两个等式中分别求得梁发生断裂时的跨距,他们分别是梁发生剪切破坏或拉伸破坏时的极限跨距。

第五节 基本顶的初次断裂步距

上述计算中,关键在于如何确定基本顶上方所受载荷的大小,可以假设岩梁所受的载荷为均布载荷,从而根据组合岩梁原理进行简化计算,具体教材 P88-90

实际上,采空区上方的基本顶更接近“板”,可将初次破断前的基本顶简化为:① 四边固支的板,② 一边简支、三边固支的板,③ 两邻边简支、两邻边固支的板,或 ④ 三边简支、一边固支的板,根据弹性力学理论,可对这些板进行受力分析,再根据上述和处理梁相同的方法解算出板发生破断时的初次断裂步距(结果见教材中式(3-17)至式(3-23))。

第五节 基本顶的初次断裂步距

影响基本顶初次断裂步距的因素包括:

  1. 基本顶岩层自身的强度:基本顶的单轴抗拉强度、内聚力、内摩擦角等越大,其初次断裂步距也越大。
  2. 基本顶岩层自身的厚度:基本顶厚度越大,其初次断裂步距也越大。
  3. 基本顶岩层上方所受的分布式载荷的大小:载荷越大,其初次断裂步距越小;所受载荷与基本顶所控制的上方岩层的总厚度、密度及弹性模量等有关。
  4. 工作面长度:影响关系较为复杂,但一般随着工作面长度的变小,初次断裂步距相应变大;工作面推进距离接近工作面长度时,坚硬顶板极易出现初次垮落,即所谓见方垮落;当工作面长度足够大时,其对断裂步距的影响作用快速降低。
  5. 基本顶四周的支撑情况:“板”的简支边数越多,初次断裂步距也越小。
  6. 基本顶自身的变形性质:影响关系较为复杂。

第六节 “砌体梁”结构及其稳定性

一、基本顶初次断裂后的“砌体梁”平衡

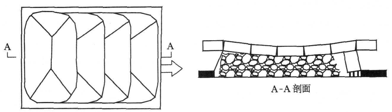
基本顶断裂的一般形态

根据基本顶的“O—X”型的破坏特点,可将工作面分为上、中、下三个区。破断的岩块由于相互挤压形成水平力,从而在岩块间产生摩擦力。工作面的上、下两区是圆弧形破坏,岩块间的咬合是一个立体咬合关系。而对于工作面中部,如图中的 AA 剖面,则可能形成外表似梁,实质是拱的裂隙体梁的平衡关系。这种结构称之为“砌体梁”。

一、基本顶初次断裂后的“砌体梁”平衡

破断岩块的拱式平衡

破断后的岩块相互挤压有可能形成三铰拱式的平衡结构,此结构平衡将取决于两个方面:
(1)咬合点处(主要在拱脚)的摩擦力与剪切力的相互关系,当剪切力大于摩擦力时形成滑落(Sliding)失稳,在工作面的表现形式为顶板的台阶下沉。
(2)咬合点的挤压力是否超过该咬合点接触面处的强度极限,在一定条件下可能导致岩块随着回转而形成回转(Rotation)变形失稳

一、基本顶初次断裂后的“砌体梁”平衡

三铰拱

三铰拱是拱结构的一种,是两端支座和跨中都是铰接的拱,它属于静定结构。

三铰拱的基本特点是在竖向荷载作用下,除产生竖向反力外,还产生水平推力。推力对拱的内力产生重要的影响,由于存在水平推力,故三铰拱各截面上的弯矩值,小于与三铰拱相同跨度、相同荷载作用下的简支梁各对应截面上的弯矩值。

一、基本顶初次断裂后的“砌体梁”平衡

岩块咬合点处的平衡

1. 结构的滑落失稳

拱脚处:

剪力 = 摩擦力

\[ \left ( T \cos \theta - R \sin \theta \right ) \tan \varphi = R \cos \theta + T \sin \theta \]

\[ T \sin \left ( \varphi - \theta \right ) = R \cos \left ( \varphi - \theta \right ) \]

\[ \frac{R}{T} = \tan\left ( \varphi - \theta \right ) \]

式中,T 为拱的水平推力;R 为拱脚处的剪力;θ 为断裂面与垂面的夹角,即断裂角;φ 为岩块见的摩擦角。

岩块咬合点处的平衡

2. 结构的回转变形失稳

岩块不发生旋转:

受到的总弯矩为零

\[ \Sigma M _0 = 0 \]

\[ T \left ( h - \alpha - \Delta \right ) = \frac {1}{2} q l ^2 \]

\[ \Delta = h \left ( 1 - \sqrt{\frac{1}{3nK\overline{K} } } \right ) \]

式中,M0 为岩块相对点 O 的弯矩;h 为基本顶厚度;a 为咬合宽度;Δ 为基本顶下沉的挠度;n 为岩石单轴抗压强度和抗拉强度的比值;\(\overline{K}\) 为岩块间的挤压强度与抗压强度的比值;K 根据梁的固支或简支等状态而定,一般取 1/2~1/3。

二、“砌体梁”全结构模型的受力分析

砌体梁力学模型—岩体形态(“横三区”、“竖三带”)

A—煤壁支撑影响区;B—离层区;C—重新压实区
Ⅰ—垮落带;Ⅱ—裂缝带;Ⅲ—弯曲下沉带

二、“砌体梁”全结构模型的受力分析

砌体梁力学模型—岩体结构形态

二、“砌体梁”全结构模型的受力分析

砌体梁力学模型—结构受力状态

Q—岩块自重及其载荷;Ri—支撑力;Ri-j—岩块间的剪切力;T—水平推力

二、“砌体梁”全结构模型的受力分析

建模和求解思路:

  1. 将断裂后相互咬合的基本顶岩块看成是较复杂的刚性连接结构;
  2. 每个岩块受到重力、上下方岩层对其的压力、岩块间的剪切力、岩块间的水平推力(对每层岩层就一个值)作用,岩块处于转动平衡状态;
  3. 对每个岩块列力矩平衡方程,所有这些方程构成了一个方程组:\(\left\{ {{M}_{i}} \right\}=\left[ {{F}_{i}} \right]\left\{ {{R}_{i}} \right\}\)
  4. 根据岩块间相互位置和几何形状的对应关系给出各处力臂的长度,代入方程组,解得岩块所受到的来自相邻岩块间的剪切力和推力。

二、“砌体梁”全结构模型的受力分析

根据对求解结果的分析,可知:

  1. 离层区悬露岩块的重量几乎全部由前支承点承担;
  2. 岩块 BC 间剪力接近于零,因而此处相当于岩块咬合形成半拱的拱顶;
  3. 此结构的最大剪力发生在岩块 AB 之间,等于岩块 B 本身的重量及其载荷;
  4. 此结构中第 1、2 断裂岩块(即 BC 岩块)对结构平衡起关键作用,是结构中的关键块

砌体梁结构的稳定性主要与基本顶厚度、直接顶厚度、使用充填法时的采空区充填情况、煤层采高、岩块自身的力学性质等有关。

二、“砌体梁”全结构模型的受力分析

“砌体梁”力学模型可以对以下矿山压力现象做出解释:

  1. 基本顶岩块的滑落失稳是工作面顶板出现台阶以及有时地表下沉出现台阶的原因;
  2. 煤壁上方基本顶剪力最大,这是工作面顶板沿煤壁切落的原因;
  3. 上覆岩层结构存在是支架受力小于覆岩层重量的原因,并由此可以分析工作面支架工作阻力必须平衡的顶板压力大小;
  4. 采高小、直接顶较厚和采用充填法处理采空区是工作面顶板压力比较小的原因;
  5. 半拱结构是工作面形成的支承压力主要集中于前拱脚的原因。

二、“砌体梁”全结构模型的受力分析

“砌体梁”力学模型的其他应用(可略过):

  1. 选择工作面推进方向与主要构造裂隙方向之间的关系,以使工作面顶板压力显现较小;
  2. 确定支架的各项参数,如支架合理的额定工作阻力、支架应具备的性能及其他参数;
  3. 研究倾斜长壁工作面与走向长壁工作面矿山压力显现的差异;
  4. 确定在特定条件下,煤层群开采时采用上行开采的可能性等。

三、“砌体梁”结构的“S—R”稳定理论

随着回采工作面的推进,上覆岩层所形成的“砌体梁”的稳定性主要受关键块体BC 岩块)所控制,关键块的稳定决定了整个“砌体梁”结构的稳定。

既要防止在回转角(θ1)较小时(岩层刚断裂时)可能形成的滑落失稳(S),又要防止在θ1角增大时咬合点挤碎而形成的回转变形失稳(R)。满足这两个条件的“砌体梁”结构才是稳定的,因而称之为“砌体梁”结构的“S—R”稳定理论

三、“砌体梁”结构的“S—R”稳定理论

根据“S—R”稳定的平衡关系,可以推导得出结构不发生失稳的条件。

不发生滑落失稳的条件(S 条件):

\[ h + h _1 \le \frac {\sigma _c}{30 \rho g}\left ( \tan \varphi + \frac {3}{4} \sin \theta _1 \right ) ^2 \]

不发生回转变形失稳的条件(R 条件):

\[ h + h _1 \le \frac {0.15 \sigma _c}{\rho g}\left (i^2 -\frac{3}{2}i \sin \theta _1 + \frac{1}{2} \sin^2 \theta _1 \right ) \]

式中,h 为直接顶厚度;h1 为承载层负载岩层的厚度;σc 为基本顶抗压强度;i 为断裂度,是基本顶厚度 h 和断块长度 l 的比值;θ1 为岩块回转的角度,主要受采高、直接顶总厚度、直接顶碎胀系数的影响。

三、“砌体梁”结构的“S—R”稳定理论

根据以上公式,可知:

  1. 当 \(h + h _1\) 过大时,应防止工作面沿煤壁的顶板切落,加强支架的初撑力以防止工作面出现压垮型冒顶事故。
  2. 当由于 \(\Sigma h/m\) 过小或采高 m 过大,导致最终回转角超出变形范围时,应注意支架刚度的调节,以保证支架有足够的稳定性,防止工作面发生推垮型事故。

第七节 基本顶断裂在岩体中引起的扰动

基本顶断裂前后的弯矩与竖向位移变化

基本顶下方的岩层更接近弹性介质。当基本顶断裂后,其下方岩层受力状态发生改变,会产生移动和变形,即基本顶断裂会在岩体内引起扰动。

在基本顶断裂时,在一部分区域基本顶岩层将发生上升,称为反弹现象,其区域称为反弹区;而在另一部分基本顶岩层对直接顶进一步加压,称为压缩现象,其区域称为压缩区。利用这种信息可以对基本顶岩层的断裂进行预测预报。

第八节 岩层控制的关键层理论

一、关键层的概念

在直接顶上方存在厚度不等、强度不同的多层岩层。实践表明,其中一层至数层厚硬岩层在采场上覆岩层活动中起主要的控制作用。将对采场上覆岩层局部或直至地表的全部岩层活动起控制作用的岩层称为关键层。前者称为亚关键层,后者称为主关键层关键层的断裂将导致全部或相当部分的上覆岩层产生整体运动。

覆岩中的亚关键层可能不止一层。老顶是对采场矿山压力显现产生影响的下位亚关键层。采场上覆岩层的关键层一般相对厚而坚硬的岩层。

一、关键层的概念

关键层的特征:

  • 几何特征:相比其他同类岩层单层厚度较厚;
  • 岩性特征:相对其他岩层较为坚硬,即弹性模量较大,强度较高;
  • 变形特征:关键层下沉变形时,其上覆全部或局部岩层的下沉量同步协调;
  • 破断特征:关键层的破断将导致全部或局部上覆岩层的同步破断,引起较大范围内的岩层移动;
  • 承载特征:关键层破断前以“板”(或简化为“梁”)的结构形式作为全部岩层或局部岩层的承载主体,破断后则成为“砌体梁”结构,继续成为承载主体。
关键层破断前
第一层关键层破断
第二层关键层破断
第三层关键层(主关键层)破断

一、关键层的概念

关键层理论为岩层控制研究提供了科学的理论和思想方法,其学术思想的创新主要体现在两个方面:

  1. 从覆岩全柱状角度出发将采动覆岩作为统一的研究整体,避免了以往各学科相对分割的研究状况,实现了矿山压力、岩层移动与地表沉陷、采动煤岩体中水与瓦斯运移研究的有机统一;
  2. 抓住了控制岩层运动的主要矛盾,即关键层,避免了传统学科中对岩性进行均匀化处理的不足。

第八节 岩层控制的关键层理论

二、关键层的判别方法

关键层判别流程图

学习要求

  1. 掌握伪顶、直接顶和基本顶的概念及垮落规律;
  2. 了解采场覆岩的压力拱假说、悬臂梁假说、铰接岩块解说、预成裂隙假说,能用自己的语言复述其要点;
  3. 掌握砌体梁假说的基本要点;
  4. 掌握砌体梁假说中的岩体形态(横三区、竖三带的划分方法);
  5. 掌握直接顶初次垮落的概念,掌握充满采空区所需要的直接顶厚度的计算方法;
  6. 了解当将基本顶简化为固定梁时,根据理论可得梁将在何处发生何种形式的断裂破坏;
  7. 了解当将基本顶简化为板时,基本顶发生“O—X”型破断的过程;
  8. 掌握基本顶初次断裂时极限跨距的概念,了解影响极限跨距的因素;
  9. 掌握砌体梁的概念,熟悉基本顶砌体梁结构失稳的两种形式和条件。
  10. 掌握岩层控制的关键层理论及其在岩层控制研究中的意义。

作 业

  1. 课本115页习题1:如何解释通常情况下采场支架仅承担了上覆岩层重量的很小部分?
  2. 课本115页习题2:简述开采后上覆岩层形成的“大结构”的形式。(仅针对“砌体梁”假说讨论)
  3. 课本115页习题6:怎样理解长壁工作面基本顶初次破断后的三铰拱或梁式结构?
  4. 课本116页习题8:试分析采场上覆岩层所形成结构的失稳条件。
  5. 简述岩层控制的关键层理论及其在岩层控制研究中的意义。

  谢谢!

返回目录
返回首页