西安科技大学

安全工程专业课程

井巷工程


金洪伟 & 双海清
西安科技大学安全科学与工程学院

返回目录⇡

如何浏览?

  1. 从浏览器地址栏打开 https://zimo.net/jhgc/
  2. 点击章节列表中的任一链接,打开相应的演示文稿;
  3. 点击链接打开演示文稿,使用空格键或方向键导航;
  4. f键进入全屏播放,再按Esc键退出全屏;
  5. Alt键同时点击鼠标左键进行局部缩放;
  6. Esco键进入幻灯片浏览视图。

请使用最新版本浏览器访问此演示文稿以获得更好体验。

第九章 斜井设计与施工

目 录

  1. 斜井断面设计
  2. 斜井表土段施工
  3. 斜井基岩段施工

第一节 斜井断面设计

按提升方式分类的斜井特征1
按提升方式分类的斜井特征2
斜井井颈结构示意图

1—行人间;2—安全通道;3—防火门;4—排水沟;5—壁座;6—壁筒

串车斜井井筒断面布置方式

A—运输设备宽度;C—人行道侧宽度;D—非人行道侧的宽度

斜井箕斗规格尺寸
华晋吕梁焦煤公司沙曲矿箕斗斜井断面布置图

(a) 表土段井筒断面布置;(b) 基岩段井筒断面布置

1—通讯电缆挂钩;2—动力电缆挂钩;3—行人扶手;4—行人台阶

胶带运送机斜井井筒断面布置方式示意图

(a) 普通胶带输送机斜井断面;(b) 钢绳芯胶带输送机斜井断面;(c) 钢丝绳牵引胶带输送机斜井断面

a1a2a3—输送机外缘至井壁的距离;B1B2B3—输送机宽度;

C1C2C3—输送机与矿车之间的间距;D—矿车宽度;e—矿车至井壁距离

斜井明槽几何参数图
明槽边坡最大坡度角和坡率允许值
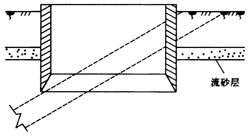
工作面滤水井降水示意图
地面井点降水示意图
山西霍州庞庞塔煤矿副斜井冻结钻孔布置示意图

(a) 冻结孔平面设计布置;(b) 冻结孔布置剖面;(c) 冻结孔布置截面

倾斜冻结钻孔、测温孔和水位孔布置示意图
局部简易沉井法施工示意图
斜井帷幕法施工示意图
斜井施工机械化作业线布置图

1—YT-28凿岩机;2—1.2m³大耙斗;3—P-120B耙斗式装载机;4—前卸式箕斗;

5—大卡轨器;6—托梁支撑;7—喷射混凝土工作台;8—JK-3激光指向仪;9—地面喷射混凝土搅拌站;

10—卸载架;11—井架;12—2JK-3/20提升机;13—8t自卸翻斗汽车;14—40m³大矸石仓

斜井中深孔抛渣爆破效果示意图

1—普通爆破矸石堆积形状;2—抛渣爆破矸石堆积形状

单侧曲轨侧卸式矿车自动卸载
后卸式箕斗卸载示意图

1—箕斗;2—曲轨;3—卸载轨;4—卸矸溜槽;5—矿车

前卸式箕斗卸载示意图

1—箕斗;2—曲轨;3—正常轨;4—溜槽或矸石仓;5—矿车

斜井施工装岩提升能力综合表
井口挡车器结构示意图

1—阻车爪;2—轴承;3—轴;4—操作把手

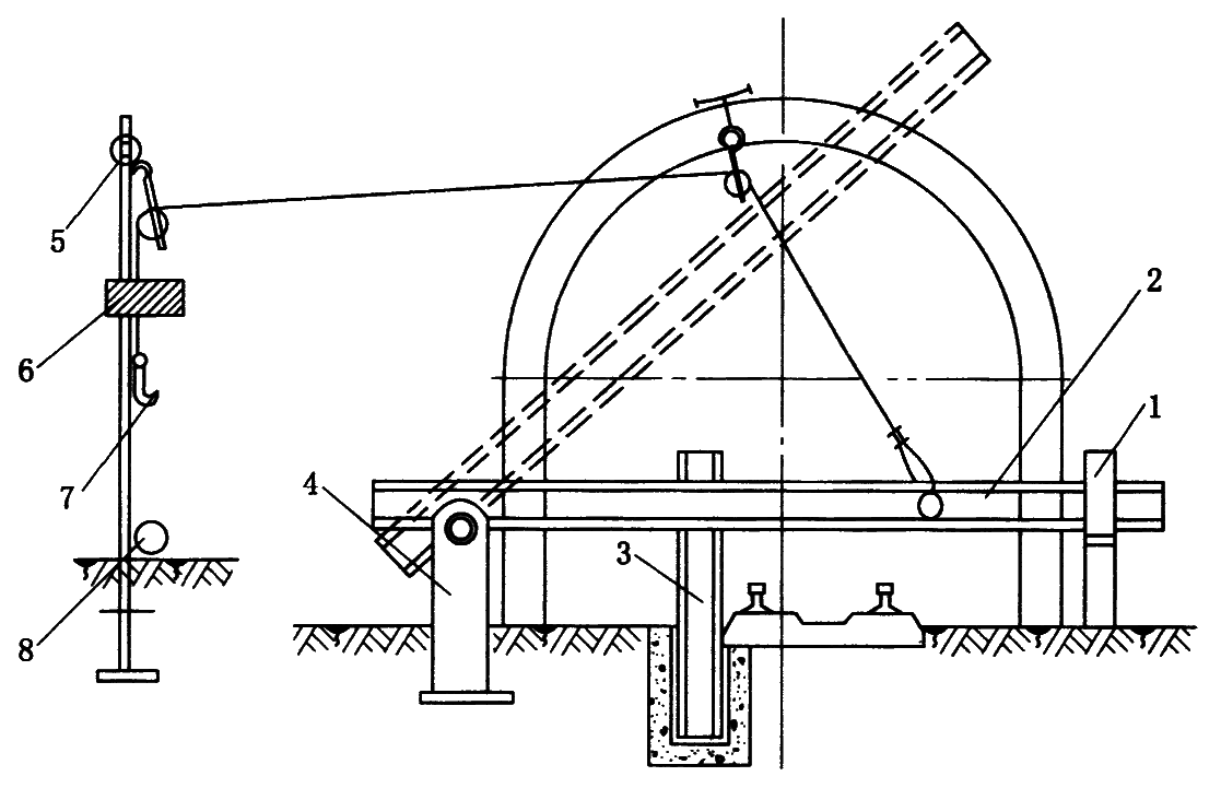
钢丝绳挡车器示意图

1—箕斗;2—钢丝绳挡车器;3—滑轮;4—牵引绳;5—绳卡子

摆杆挡车器示意图

1—限位架;2—摆动租车杆;3—阻车活动插杆;4—支承转动架;

5—滑轮固定立柱;6—配重块;7—手动拉勾;8—提升固定环

吸能式防跑车装置示意图

  谢谢!

返回目录
返回首页