西安科技大学

安全工程专业课程

井巷工程


金洪伟 & 双海清
西安科技大学安全科学与工程学院

返回目录⇡

如何浏览?

  1. 从浏览器地址栏打开 https://zimo.net/jhgc/
  2. 点击章节列表中的任一链接,打开相应的演示文稿;
  3. 点击链接打开演示文稿,使用空格键或方向键导航;
  4. f键进入全屏播放,再按Esc键退出全屏;
  5. Alt键同时点击鼠标左键进行局部缩放;
  6. Esco键进入幻灯片浏览视图。

请使用最新版本浏览器访问此演示文稿以获得更好体验。

第四章 巷道断面设计

目 录

  1. 煤矿巷道类型与断面形状
  2. 巷道断面尺寸确定
  3. 水沟与管缆布置
  4. 巷道断面设计示例

巷道断面设计原则:在满足安全与生产要求的前提下,力求提高断面利用率,尽量减小断面面积,降低其造价,并有利于快速施工。

巷道断面设计的内容和步骤

  1. 根据巷道的服务年限、用途、围岩性质以及采掘工艺,选择巷道断面形状支护方式
  2. 根据巷道通行的运输设备尺寸、支护参数和道床参数、通风风量和行人要求等确定巷道净断面尺寸,并进行风速验算
  3. 计算巷道的设计掘进断面尺寸,并按照允许的超挖值,求算出巷道的计算掘进断面尺寸
  4. 布置水沟与管路电缆,绘制巷道断面施工图,编制巷道特征表和每米巷道工程量及材料消耗量表。
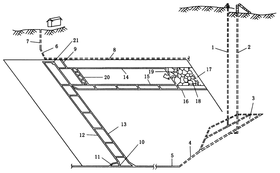
典型的煤矿巷道布置

1-副井;2-主井;3-井底车场;4-主要运输石门;5-运输大巷;6-回风石门;7-风井;8-回风大巷;9-采区回风石门;10-采区煤仓;11-行人进风巷;12-运输上山;13-轨道上山;14-回风巷(顺槽);15-运输巷(顺槽);16-下区段回风巷;17-开切眼;18-采空区;19-采煤工作面;20-回撤通道;21-绞车房硐室

第一节 煤矿巷道类型与断面形状

一、煤矿巷道类型

巷道类型(按层位划分)

(a) 岩石巷道;(b) 半煤岩巷道;(c) 岩顶煤巷;(d) 煤顶煤巷;(e) 岩顶煤底煤巷;(f) 全煤巷道

第一节 煤矿巷道类型与断面形状

二、巷道断面形状

第一节 煤矿巷道类型与断面形状

三、巷道断面形状的选择

巷道断面形状应根据巷道的用途围岩条件矿压特点服务年限支护方式掘进工艺等因素确定,并应符合承压性能好、断面利用率高、掘进与支护费用低、便于施工的要求。

第二节 巷道断面尺寸确定

巷道净断面必须满足行人、运输、通风和安全设施及设备安装、检修、施工的需要。其尺寸主要取决于巷道的用途,存放或通过的机械、器材或运输设备的数量和规格,人行道宽度和各种安全间隙以及通过巷道的风量、风速要求等。

第二节 巷道断面尺寸确定

一、巷道净宽度的确定

巷道的净宽度是指巷道两侧壁面或锚杆露出长度终端之间的水平距离。

对梯形巷道:

(1)当其内通行矿车、电机车时,净宽度指车辆顶面水平的巷道宽度;

(2)当其内不通行运输设备时,净宽度指从底板起 1.6m 高度水平的巷道宽度。

运输巷道的净宽度的确定,由运输设备本身外轮廓最大宽度和《煤矿安全规程》所规定的人行道宽度以及有关安全间隙相加而得(见下页表)。

巷道安全间隙表
运输巷与运输设备最突出部分之间的最小间距

一、巷道净宽度的确定

1. 双轨巷道净宽度

B = a + 2A1 + c + t

式中:

  • B 为巷道净宽度;
  • a 为非人行侧的宽度(见上上页表);
  • A1 为运输设备的最大宽度(见下页表);
  • c 为人行侧的宽度,新建矿井必须留有0.8m(综合机械化采煤及无轨胶轮车运输的矿井为1m)的人行道;
巷道净断面尺寸示意图
  • t 为双轨运输巷道中,两列对开列出最突出部分之间的距离,轨道运输时不得小于0.2m,单轨吊车运输时不得小于0.8m,无轨胶轮车运输双车道时不小于0.5m。
煤矿井下常用运输设备类型及规格尺寸

两条平行轨道的中线距可按下表选取:

双轨巷道轨道中心距数值(单位:mm)

一、巷道净宽度的确定

1. 双轨巷道净宽度

按上述公式确定巷道净宽度后,还需要检查是否能满足掘进机械化施工和铺设临时双轨以及运输综采支架时所需的最小净宽要求。

拱形断面的主要运输巷道净宽度,综采矿井不宜小于 3.2m,其他矿井不宜小于 3.0m,拱形断面的其他巷道净宽度不宜小于 3.0m;矩形巷道断面净宽度不宜小于 3.0m;梯形巷道断面顶部净宽度不宜小于 1.8m;胶轮车无轨运输巷道的净宽度不宜小于 3.4m。

按以上所计算的巷道净宽度 B 值,应根据只进不舍的原则以 0.1m进级。

一、巷道净宽度的确定

无轨运输巷道直线段宽度示意图

2. 无轨运输巷道净宽度

计算方法与有轨巷道类似,在前面已有涉及。主要区别是取更大的非人行侧、人行侧以及运输设备间隙宽度。(详情请见教材。)

第二节 巷道断面尺寸确定

二、巷道净高度的确定

矩形梯形巷道的净高度系指自道砟面或底板至顶梁或顶部喷层面、锚杆露出长度终端的高度;拱形巷道的净高度是指自道砟面至拱顶内沿或锚杆露出长度终端的高度。

《煤矿安全规程》规定:

  • 采用轨道机车运输的巷道净高,自轨面起不得低于 2m。
  • 架线电机车运输巷道的净高,在井底车场内、从井底到乘车场,不小于 2.4m;其他地点:行人的不小于 2.2m,不行人的不小于 2.1m。
  • 采(盘)区内的上山、下山和平巷的净高不得低于 2m,薄煤层内的不得低于 1.8m。

二、巷道净高度的确定

除以上要求外,还必须满足人行道的净高不得小于 1.8m,架空乘人装置的蹬座、乘人斗箱、单轨吊运输设备与巷道底板之间的安全间隙不得小于 0.3m。

无轨运输巷道的净高度除要满足行人、通风、会车等要求的安全间隙外,最小净高度不得小于 2.5m。

二、巷道净高度的确定

1. 梯形巷道的净高

对于梯形巷道,可根据上述规定及以下图表所列公式,求得巷道的净高 H 和其他高度,并预留必要的巷道收敛量。

梯形巷道断面计算图
梯形巷道断面计算公式
梯形巷道断面计算公式(续)

二、巷道净高度的确定

巷道净断面尺寸示意图

2. 拱形巷道的净高

H = h0 + h3 - hb

式中,H 为拱形巷道的净高度,h0 为拱形巷道的拱高,h3为拱形巷道的壁高,hb 为巷道内道砟高度。

2. 拱形巷道的净高

(1)拱高 h0 的确定

拱的高度常以与巷道净宽的比来表示(称为高跨比)。半圆拱的拱高 h0、拱的半径 R 均为巷道净宽的 1/2,即 h0 = R = B/2。圆弧拱的拱高,煤矿多取巷道净宽的 1/3,即 h0 = B/3。个别矿井为了提高圆弧拱的受力性能,取拱高 h0 = 2B/5。金属矿山由于围岩坚固稳定,可将圆弧拱的拱高取为巷道净宽的 1/4 或 1/5。

2. 拱形巷道的净高

(2)壁高 h3 的确定

拱形巷道的墙高 h3 是指自巷道底板至拱基线的垂直距离。为了满足行人安全、运输通畅以及安装和检修设备、管缆的需要,拱形巷道的墙高设计按架线电机车导电弓子顶端与巷道拱壁间最小安全间隙要求、管道的装设高度要求、人行高度要求、1.6m 高度人行宽度要求和设备上缘至拱壁最小安全间隙要求 5 种情况,根据以下各页图表中公式计算,并取其最大者。

2. 拱形巷道的净高

(2)壁高 h3 的确定

对于架线电机车运输巷道,一般按其中架线电机车导电弓子和管道装设高度的要求计算即能满足设计要求;其他如矿车运输、仅铺设输送机或无运输设备的巷道,一般只按行人高度要求计算即可满足设计要求。但是在人行道范围内,管路和电缆的架设高度不低于1.8m。


上述计算出的墙高值 h3,必须按只进不舍的原则,以 0.1m 进级。

半圆拱形巷道断面壁高计算图

(a)单轨;(b)双轨

圆弧拱形巷道断面壁高计算图
拱形断面巷道壁高计算公式(单位:mm)
拱形断面巷道壁高计算公式(单位:mm)(续)
半圆拱形巷道断面计算公式
圆弧拱形巷道断面计算公式

第二节 巷道断面尺寸确定

三、巷道的净断面面积

巷道的净宽和净高确定后,巷道的净断面面积便可以求出。

  • 半圆拱形巷道: S = B(0.39B + h2)
  • 圆弧拱形巷道:S = B(0.24B + h2)
  • 梯形巷道:S = 0.5×(B1 + B2)H

第二节 巷道断面尺寸确定

四、巷道风速验算

通过巷道的风量是根据对整个矿井生产通风网络求解得到的。当通过该巷道的风量确定后,断面越小,风速越大。风速大,不仅会扬起粉(煤)尘,影响工人身体健康和工作效率,而且易引起煤尘爆炸事故。为此,《煤矿安全规程》规定了各种不同用途的巷道所允许的最高风速(见下页表)。但是,为给矿井未来增产留有余地,并考虑巷道断面的收敛变形情况,设计时应在不违反《煤矿安全规程》的情况下,按照《煤炭工业矿井设计规范》规定设计。矿井主要进风巷的风速一般不大于 6m/s。

第二节 巷道断面尺寸确定

四、巷道风速验算

按下式进行风速验算:

v = Q/Svmax

式中,v 为通过该巷道的风速,m/s;Q 为根据设计要求通过巷道的风量,m3/s;S 为巷道的净断面面积,m2vmax 为该巷道允许通过的最大风速,m/s,矿井主要进风巷道取为 6m/s。

巷道允许的最高风速

第二节 巷道断面尺寸确定

四、巷道风速验算

对于低瓦斯矿井,按前述方法所设计出的巷道净断面尺寸一般能满足通风要求。但是,对高瓦斯矿井往往不能满足。这时,巷道的净断面尺寸就需要根据允许的巷道最高风速和《煤炭工业矿井设计规范》规定的最高风速要求来进行设计和计算。

巷道的净断面面积还需满足:综合机械化采煤工作面输送机巷道(运输巷道)净断面不宜小于 12m2,回风巷道净断面不宜小于 10m2,输送机上、下山的净断面不宜小于 12m2,运料通风和行人上、下山的净断面不宜小于 10m2

第二节 巷道断面尺寸确定

五、巷道掘进断面

确定巷道掘进断面首先必须确定巷道支护参数道床参数,然后依据前述图表中的有关公式进行计算。

1. 支护设计

根据巷道的围岩条件、类型和用途、服务年限以及支护材料的特性等因素,可选择锚杆、锚索、喷射混凝土、锚喷、锚喷网、锚梁、锚网、锚网梁、金属支架、砌碹等支护形式。

五、巷道掘进断面

2. 道床参数的选择

道床参数的选择包括钢轨型号轨枕规格道砟高度的确定。道床可分为道砟道床固定道床

道砟道床由钢轨及其连接件、轨枕、道砟等组成,具有施工简单,容易更换,工程造价较低,有一定的弹性和良好的排水性,并有利于轨道调平。但在生产过程中,煤、岩粉洒落在道床上之后,使其弹性降低,排水受到阻碍,可能影响机车正常运行。

固定道床是用混凝土整体浇筑,将轨道与道床固定在一起,这种道床维修工程量小,运营费用低,车辆运行平稳、速度快,主要用于大型矿井的斜井井筒、井底车场和部分运输大巷的轨道铺设中。

巷道轨型选择
常用轨枕规格(单位:mm)
道床尺寸关系图
常用道床参数

五、巷道掘进断面

3. 巷道掘进断面面积

巷道掘进断面又称荒断面毛断面

巷道掘进断面尺寸 = 巷道的净尺寸 + 支护参数 + 道床参数

  • 半圆拱形巷道的掘进断面面积:
    S1 = B1(0.39B1 + h3)
  • 圆弧拱形巷道的掘进断面面积:
    S1 = 0.24B2 + 1.27B T + 1.57T2 + B1h3
  • 梯形巷道的掘进断面面积:
    S1 = B1(B3 + B4)H1/2

五、巷道掘进断面

4. 巷道计算掘进断面

采用钻爆法掘进巷道,实际开挖断面和理论上的掘进断面必然存在偏差,一般采用巷道的计算掘进断面来计算巷道工程量和材料消耗量。

巷道计算掘进断面尺寸 =
巷道掘进断面尺寸
+
允许的掘进超挖误差值 δ(取75mm)

第三节 水沟和管缆布置

一、水沟设计

为了排出井下涌水和其他污水。设计巷道断面时应根据矿井生产时通过该巷道的排水量设计水沟。

1. 水沟布置

水沟的布置应不影响运输与行人,便于清理。并应符合下列规定:

  • 非全封闭支护的巷道:通常布置在巷道行人侧;
  • 全封闭支护的巷道:宜布置在巷道中间;
  • 专用排水巷道、中间设人行道的巷道、有底鼓的巷道、铺设整体道床的巷道:可布置在巷道中间;
  • 锚喷支护和砌碹支护的巷道:紧贴巷道侧帮布置;
  • 金属支架支护的巷道:水沟外缘与柱腿的距离不应小于 300mm。

一、水沟设计

2. 水沟砌筑

主要运输大巷、服务年限 5 年以上的采区运输巷道及水量较大的采区巷道,应采用混凝土砌筑水沟,并且砌筑厚度不宜小于 50mm。

回采巷道、服务年限小于 5 年且水量较小的采区巷道专用回风巷、无运输设备运行的巷道,水沟可不砌筑

一、水沟设计

3. 水沟坡度和流速

水沟坡度应与巷道坡度一致,保证流水通畅。平巷坡度不宜小于 3‰;采区输送机巷和回风巷的水沟可选用 5‰ 的坡度;巷道内的横向截水沟,坡度不小于 2‰。

水沟采用混凝土砌筑时最大流速为 5~10m/s,不砌筑时为 3~4.5m/s。水沟的最小流速,应以不使煤泥等杂物沉积为原则,其值不应小于 0.5m/s。

一、水沟设计

4. 水沟的断面

对于砌筑的水沟,紧贴巷道侧帮布置或加设盖板的,宜选用倒直角梯形矩形断面,其他砌筑水沟宜选用矩形倒等腰梯形断面。无砌筑水沟应选用倒等腰梯形断面。

各种水沟断面尺寸应根据水沟的流量、坡度、支护材料和断面形状等因素决定,可以直接利用设计部门提供的各种断面形状水沟特征表选用,见下页图。设计的水沟净断面尺寸,应保证底宽大于清理工具的宽度,水沟的充满系数不应大于 0.75,水面至水沟上缘的高度不应小于 50mm。

拱形、梯形巷道水沟规格和材料消耗表

一、水沟设计

5. 水沟盖板

水沟盖板的设置应符合下列规定:

  • 采用轨道运输的井底车场、主要运输巷和采区石门,水沟应设置盖板。
  • 采用无轨运输的井底车场和主要运输巷,应设置盖板。设置的盖板应能承受车辆碾压。当水沟与管线同侧布置时,可不设置盖板。
  • 无运输设备运行的巷道、倾斜巷道、采区中间巷与回采巷道,水沟可不设盖板。

一、水沟设计

5. 水沟盖板

水沟盖板宜采用钢筋混凝土制作,钢筋直径不应小于 6mm,并应符合下列要求:

  • 水沟盖板的宽度,应大于水沟上口净宽 150mm。
  • 厚度应不小于 50mm,质量不应超过 40kg。
  • 混凝土强度等级不应低于 C25。

第三节 水沟和管缆布置

二、管缆布置

根据生产需要,巷道内需要敷设诸如压风管排水管供水管动力电缆照明通信电缆等管道和电缆。管缆不得影响运输、行人和安全。

1. 管道布置

  • 管道应布置在人行道一侧,一般采用托架、管墩及锚杆吊挂等方式,并要考虑检修的方便。吊挂在人行道上方的管道及其悬吊装置下部的净高不得小于 1.8m;用钢梁支托的管道,钢梁下缘的高度不得小于 1.8m。敷设在水沟上方的管道不得影响水沟的清理。
  • 行驶无轨运输设备的巷道内,敷设在侧帮的管道底部宜高于运输设备的高度,否则应采取防止车辆撞击管道的措施。
  • 当管道与管道呈交叉或平行布置时,管道之间的间隙应便于安装与检修。管道架设在平巷顶部时,应不妨碍其他设备的维修与更换。

二、管缆布置

2. 电缆布置

  • 电力电缆与通讯、信号电缆应分挂在巷道两侧。当受条件限制挂在同侧时,通讯、信号电缆应敷设在电力电缆的上方,其间隙应大于 100mm,以防止电磁场作用干扰通讯信号。
  • 高压电力电缆之间、低压电力电缆之间的距离不得小于 50mm。高、低压电力电缆敷设在巷道同侧时,高、低压电力电缆之间的距离应大于 100mm。距离过小时,容易因绝缘损坏而发生短路,造成故障或事故。
  • 电缆悬挂高度应保证当矿车掉道时不会撞击电缆,或者电缆发生坠落时,不会落在轨道上或运输设备上,所以电缆悬挂高度一般为 1.5~1.9m,两个悬挂点的间距不应大于 3.0m。
  • 架空线悬挂高度、与巷道顶或棚梁之间的间隙等,应保证电机车的安全运行。
  • 需要运送液压支架的巷道,电机车架空线的高度应满足液压支架运输的要求。

二、管缆布置

3. 电缆与管道的相对位置

  • 电缆不应悬挂在风管或水管上。
  • 电缆与风管或水管在巷道同一侧敷设时,必须敷设在管子上方,并保持 300mm 以上的距离。这样既可避免管道安装、检修和跌落时破坏电缆,又可避免电缆因悬垂度过大而与管道接触导致管道带电而造成事故。
  • 敷设有瓦斯管路的巷道,电缆必须与瓦斯管路分挂在巷道两侧。
巷道管缆布置
巷道管缆布置

第三节 水沟和管缆布置

三、巷道断面施工图

将已经设计的巷道断面尺寸,一般按 1:50 的比例绘制出巷道断面施工图,并附上巷道特征表每米巷道工程量及材料消耗量表,作为指导巷道施工的设计依据。

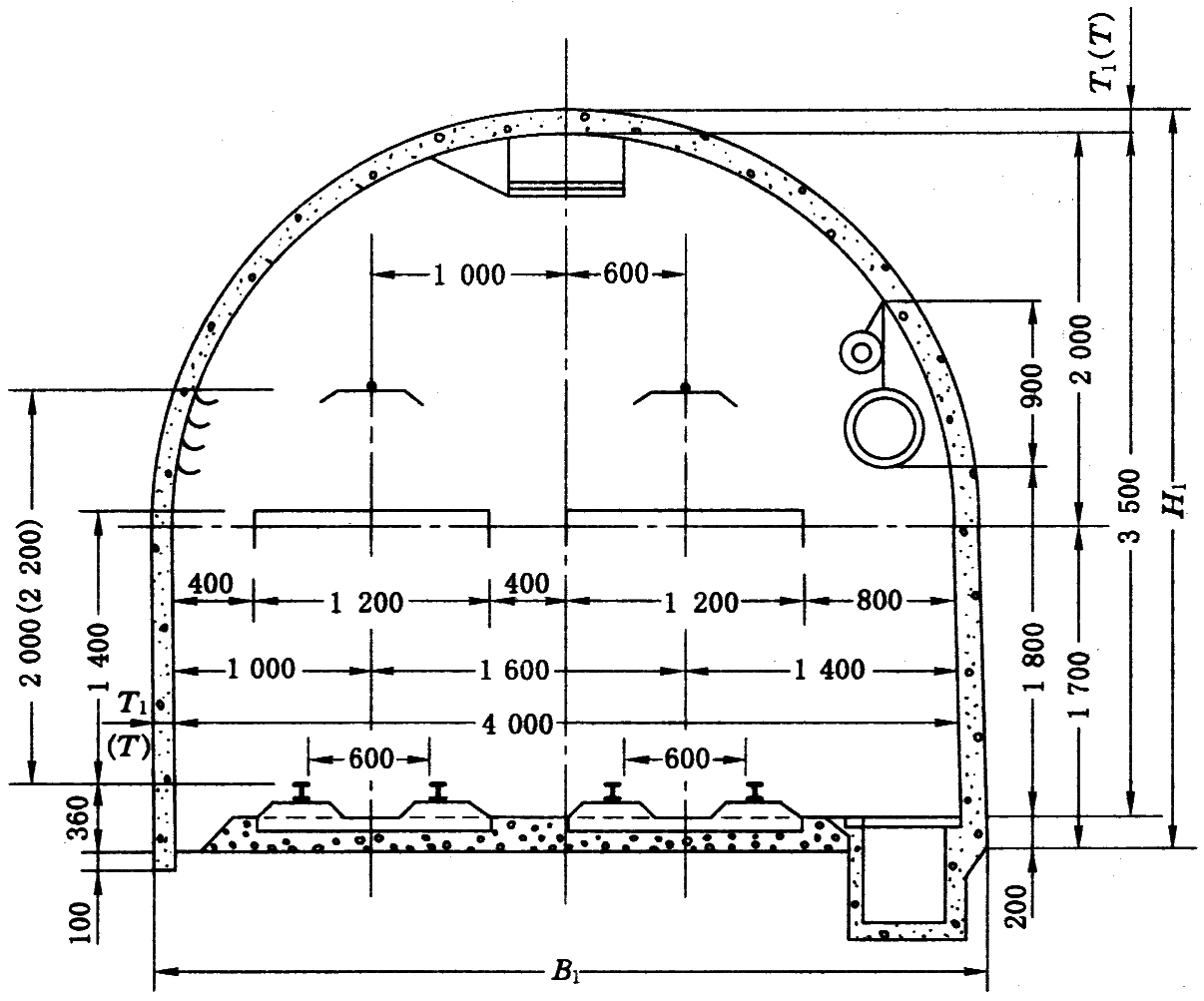
某矿巷道断面施工图

双轨运输大巷,600mm 轨距,电机车运输,3.5t 底卸式矿车

运输大巷特征表
每米巷道工程量及材料消耗量表

第四节 巷道断面设计示例

我国煤矿设计部门对常用的巷道断面已编制出巷道断面施工图标准设计,可供查阅选用。

:某煤矿采用立井开拓,年设计生产能力为 180万吨,采用综合机械化采煤法开采,低瓦斯矿井,中央并列式通风,矿井生产期间正常涌水量为 620m3/h。通过该矿第一水平东翼轨道运输大巷的流水量为 160m3/h,矿井设计采用 ZK10-6/250 架线式电机车牵引 1.5t 矿车运输,该大巷穿过中等稳定的岩层,围岩坚固性系数 f = 4~6,通过巷道的风量为 48m3/s,巷道的设计坡度为 3‰。巷道内敷设一趟直径为 200mm 的压风管和一趟直径为 100mm 的水管。另设动力、照明、通讯和信号电缆各一路,试设计该运输大巷直线段的巷道断面。

第四节 巷道断面设计示例

一、选择巷道断面形状与支护方式

查前面“煤矿井下常用运输设备类型及规格尺寸”表可知,ZK10-6/250 电机车轨距为 600mm,这就是设计巷道的轨距。根据矿井产量,确定该巷道为双轨巷,根据前述可知,其净宽应在 3.0m 以上。

因巷道穿过中等稳定的岩层,根据经验设计该巷道采用直墙半圆拱形断面,施工时采用钻眼爆破方法掘进。巷道设计选用高强度螺纹钢树脂锚杆与喷射混凝土支护,局部需要加强支护地段铺设钢筋网,形成锚喷网联合支护。

第四节 巷道断面设计示例

二、确定巷道净断面尺寸

1. 净宽度

一般电机车宽度大于矿车宽度,因此设计净宽时只考虑电机车尺寸。所选用的电机车宽度 A1 = 1060mm,高 h = 1550mm。则巷道的净宽度 B 为:

B = a + 2A1 + c + t

  • a 为非人行侧的宽度,因该矿为综采矿井,按规定取为 500mm;
  • A1 为运输设备的最大宽度,取为电机车宽度 1060mm;
  • c 为人行侧的宽度,按规定,综采矿井取为 1000mm;
  • t 为双轨运输巷道中,两列对开列出最突出部分之间的距离,轨道运输时不得小于 200mm。

二、确定巷道净断面尺寸

1. 净宽度

若按上述公式设计巷道净宽,则双轨中心距 bA1 + t = 1060 + 200 = 1260mm。而根据前面的“双轨巷道轨道中心距数值”表可知本巷道条件的双轨中心距 b  规定为 1300mm,取大值,则巷道的实际宽度应按下式计算

B = a + A1 + bc =
500 + 1060 + 1300 + 1000 = 3860mm ≈ 3900mm

二、确定巷道净断面尺寸

2. 拱高

h0 = B/2 = 3900/2 = 1950mm

二、确定巷道净断面尺寸

3. 壁高

(1)按架线电机车导电弓子安设要求确定 h3

$$h_3\ge h_4+h_c-\sqrt{\left( R-n \right) ^2-\left( K+b_1 \right) ^2}$$

$$h_3\ge 2000+410-\sqrt{\left( 1950-300 \right) ^2-\left( 360+1950-\frac{1060}{2}-500 \right) ^2} \\ =1369\mathrm{mm}$$

二、确定巷道净断面尺寸

3. 壁高

(2)按管道装设要求确定 h3

$${h_3} \ge {h_5} + {h_7} + {h_b} - \sqrt {{R^2} - {{\left( {K + m + D/2 + {b_2}} \right)}^2}} $$

$$h_3\ge 1800+900+220-\sqrt{1950^2-\left( 360+300+335/2+1950-1530 \right) ^2} \\ =1421\mathrm{mm}$$

二、确定巷道净断面尺寸

3. 壁高

(3)按人行高度要求确定 h3

$${h_3} \ge 1800 + {h_b} - \sqrt {{R^2} - {{\left( {R - j} \right)}^2}} $$

$$h_3\ge 1800+220-\sqrt{1950^2-\left( 1950-200 \right) ^2}=1160\mathrm{mm}$$

二、确定巷道净断面尺寸

3. 壁高

上述三式计算的最大值是 1421mm,考虑一定的富余量,确定本巷道壁高 h3 = 1820mm。


巷道净高度:

H = h0 + h3 - hb = 1950 + 1820 - 220 = 3550mm ≈ 3600mm

二、确定巷道净断面尺寸

4. 净断面面积和净周长

净断面面积:
S = B(0.39B + h2) = 3900×(0.39×3900 + 1600) = 12171900mm2 = 12.2m2

 

净周长:
P = 2.57B + 2h2 = 2.57×3900 + 2×1600 = 13223mm = 13.2m

二、确定巷道净断面尺寸

5. 风速校核

查前面“巷道允许的最高风速”表,该巷道允许的最大风速为 8m/s,已知风量为 48m3/s,则有:

v = Q/S = 48/12.2 = 3.93m/s < 8m/s

因此,设计的巷道净断面面积,风速没有超过规定,并有很大的富余量,满足要求。

第四节 巷道断面设计示例

三、确定巷道设计掘进断面尺寸和计算掘进断面尺寸

1. 选择支护参数

选用高强度螺纹钢树脂锚杆支护。锚杆杆体为抗拉强度 400MPa、ϕ20mm 的左旋无纵筋螺纹钢,长度 2.0m。每根锚杆安装两个 Z2335 树脂药卷,锚固长度 ≥700mm。设计锚杆预紧力 ≥50kN,锚固力 ≥120kN。锚杆呈方形布置,其间排距为 0.8m×0.8m。锚杆托板为 10mm 厚、120mm×120mm 的拱形托板。

喷射混凝土设计厚度 T1 = 100mm,应保证锚杆不外露,设计强度为 C18,分两次喷射,每次各喷 50mm 厚。

巷道需加强支护的局部地段,在初次喷射 50mm 厚混凝土后铺设 ϕ6mm 的钢筋网,网格尺寸为 100mm×100mm,形成锚喷网联合支护。

三、确定巷道设计掘进断面尺寸和计算掘进断面尺寸

2. 选择道床参数

根据本巷道通过的运输设备,宜选用 24kg/m 的钢轨,其道床参数 hchb 分别为 410mm和 220mm,道砟面至轨面高度 ha = hc - hb = 410-220= 190mm。采用钢筋混凝土轨枕。

三、确定巷道设计掘进断面尺寸和计算掘进断面尺寸

3. 确定巷道掘进断面尺寸

巷道掘进断面尺寸 = 巷道的净尺寸 + 支护参数 + 道床参数

  • 巷道设计掘进宽度:B1 = B + 2T = 3900 + 2×100 = 4100mm
  • 巷道计算掘进宽度:B2 = B 1+ 2δ = 4100 + 2×75 = 4250mm
  • 巷道设计掘进高度:H1 = H + hb + T = 3600 + 220 + 100 = 3920mm
  • 巷道计算掘进高度:H2 = H1T + δ= 3920 + 75 = 3995mm
  • 巷道设计掘进断面积:S1 = B1(0.39B1 + h3) = 4100×(0.39×4100 + 1820) = 14.02m2
  • 巷道计算掘进断面积:S2 = B2(0.39B2 + h3) = 4250×(0.39×4250 + 1820) = 14.78m2

第四节 巷道断面设计示例

四、布置水沟和管线

已知通过该巷道的水量为 160m3/h,设计水沟坡度为 3‰。查“拱形、梯形巷道水沟规格和材料消耗表”得水沟为矩形断面,深 400mm、宽 400mm,净断面面积 0.16m2;水沟掘进断面积 0.203m2,每米水沟盖板用钢筋 1.633kg、混凝土 0.0276m3,每米水沟砌筑用混凝土 0.133m3

为了不使巷道内积水,巷道底板向水沟一侧应有 2‰ 的坡度,并且在水沟侧面壁上每隔一定距离开设 ϕ50mm 泄水孔。

压风管和供水管悬吊在人行道一侧,按壁高 h3 的确定要求,保证 1.8m 的行人高度。电力、照明、通信等电缆挂在非人行道一侧,最低悬挂高度 1.6m,并且信号、通讯电缆在电缆钩架的最上方,各电缆之间保证 0.1m 以上的间距。

第四节 巷道断面设计示例

五、计算巷道掘进工程量及材料消耗量

见课本。

第四节 巷道断面设计示例

六、绘制巷道断面施工图、编制巷道特征表和每米巷道工程量及材料消耗量表

根据以上计算结果,按 1:50 比例绘制出巷道断面施工图(见下页图),并附上工程量及材料消耗量表,统称为巷道施工图,作为施工的依据。

第一水平东翼运输大巷施工图
第一水平东翼运输大巷特征

 

第一水平东翼运输大巷每米工程量及材料消耗量

作 业

  1. 巷道断面设计的原则、内容和步骤是什么?
  2. 巷道按用途和按相对于煤层的层位,各分为哪几类?
  3. 《煤矿安全规程》对巷道的净宽和净高有哪些明确规定?(请自行查阅)
  4. 采用光面爆破技术的锚喷支护巷道,为什么必须考虑超挖值?
  5. 在确认巷道净断面规格时,为什么必须验算风速?《煤矿安全规程》对风速有何具体要求?
  6. 净断面、设计掘进断面和计算掘进断面有何区别?

  谢谢!

返回目录
返回首页