西安科技大学

安全工程专业课程

井巷工程


金洪伟 & 双海清
西安科技大学安全科学与工程学院

返回目录⇡

如何浏览?

  1. 从浏览器地址栏打开 https://zimo.net/jhgc/
  2. 点击章节列表中的任一链接,打开相应的演示文稿;
  3. 点击链接打开演示文稿,使用空格键或方向键导航;
  4. f键进入全屏播放,再按Esc键退出全屏;
  5. Alt键同时点击鼠标左键进行局部缩放;
  6. Esco键进入幻灯片浏览视图。

请使用最新版本浏览器访问此演示文稿以获得更好体验。

第二章 凿岩方法与设备

目 录

  1. 钻孔方法及其分类
  2. 凿岩机具
  3. 钻眼工具
  4. 压风供应

第一节 钻孔方法及其分类

井巷施工首先要破碎岩石,常用的破岩方法有机械破岩爆破破岩两种。目前煤矿爆破破岩仍占较大的比例(约40%)。爆破效率的提高在很大程度上依赖于凿岩设备(机具)的发展。

按钻孔(眼)直径和深度进行分类

第一节 钻孔方法及其分类

按破岩方法进行分类

第一节 钻孔方法及其分类

冲击式钻孔过程

一、冲击式钻孔法

钻头在冲击力 Pd 的作用下,侵入岩石并形成一条凿痕 AB,随后钻头转动一个角度并再次冲击,在岩石上形成另一条凿痕 A'B',两个凿痕之间的岩石(扇形 AOA'BOB')也将同时被剪切掉。如此反复。利用压风或水流将破碎后的岩屑排出孔外。

第一节 钻孔方法及其分类

旋转式钻孔过程

二、旋转式钻孔法

切割型钻头在轴压力P的作用下,克服岩石的抗压强度并侵入岩石一定深度 h;同时钻头在回转力 Pc 的作用下,克服岩石的抗切削强度,将岩石一层层切割下来,钻孔运行的轨迹是沿螺旋线下降,岩屑被排出孔外。

第一节 钻孔方法及其分类

旋转冲击式钻孔过程

三、旋转冲击式钻孔法

旋转式和冲击式钻孔的结合。旋转冲击钻孔时,钻头在回转切削的同时,既有轴压力 P 的作用,又有冲击力 PD 和回转力矩 PC 的作用,它与冲击式的区别在于钻头连续旋转,与旋转式的区别是增加了冲击作用。

第一节 钻孔方法及其分类

四、滚压式钻孔法

牙轮钻头滚压钻孔过程

以牙轮钻头的滚压作用破碎孔底岩石。凿岩过程中,钻机通过钻杆给牙轮钻头施以轴压 P,同时钻杆在回转力矩 M 作用下旋转带动牙轮钻头绕钻杆做公转运动,而牙轮又绕自身轴做自转,即在岩石上形成滚动。滚动过程中,压力以一个齿→两个齿→一个齿交替地滚压岩石,使牙轮的轴心上下震动,从而引起钻杆周期性地弹性伸缩,钻杆的弹性能不断作用于牙轮,并通过滚轮牙齿传递给岩石,因此作用处岩石破碎,同时钻杆震动引起的冲击又加强滚轮牙齿对岩石的破碎。岩屑在钻头喷出的压缩气体作用下排出孔外。

钻眼方法与相应钻机类型对照

第二节 凿岩机具

井巷掘进中,在岩石中钻眼,主要采用冲击式钻眼法,使用的钻眼机械是凿岩机;在煤层中钻眼,主要采用旋转式钻眼法,多使用煤电钻

凿岩机按使用动力不同,分为风动凿岩机(简称凿岩机或风钻)、液压凿岩机及电动凿岩机。

第二节 凿岩机具

一、风动凿岩机

风动凿岩机是以压缩空气为动力的钻孔机具。按其支架方式可分为手持式气腿式向上式(伸缩式)和导轨式四种。按冲击频率分可分为低频(小于2000次/min)、中频(2000~2500次/min)和高频(大于2500次/min,较少见)的三种。

气腿式凿岩机的机身重量由气腿支撑,减轻了体力劳动,应用比较广泛。

手持式凿岩机
手持式凿岩机打眼中
气腿式凿岩机
气腿式凿岩机作业中
YT-23(7655)型气腿式凿岩机

1-手柄;2-柄体;3-气缸;4-消声罩;5-钎卡;6-钎子;7-机头;
8-连接螺栓;9-气腿连接轴;10-自动注油器;11-气腿

气腿式凿岩机组成:

  • 冲击机构:由气缸、活塞和配气系统组成。借助配气系统可以自动变换压气进入气缸的方向,使活塞完成往复运动,即冲程和回程。当活塞做冲程运动时,活塞冲击钎尾,将冲击功经钎杆、钎头传递给岩石,完成冲击做功过程。
  • 转钎机构:采用棘轮、螺旋棒,并利用活塞的往复运动经过转动套筒等转动件来转动钎子。
  • 排粉机构:为了消除岩粉对人体的危害,我国规定钻眼工作必须采用湿式钻眼排粉。风动凿岩机配有轴向供水系统,采用风水联动系统,凿岩机停止工作时,自动停止供水。另外该机构还能利用压气强力清扫炮眼。
  • 润滑系统:采用独立的自动注油器实现润滑。分悬挂式和落地式,润滑油经压气吹成雾状,达到良好的润滑效果。
凿岩机冲击机构工作原理示意图

(a) 冲程;(b) 回程

1—操纵阀孔道;2—柄体气室;3—棘轮孔道;4—阀柜孔道;5—阀柜前气室;

6—进气孔道;7—活塞后端面;8—排气口;9—活塞前端面;10—阀柜后气室;11—回程孔道

A—柄体;B—棘轮和螺旋棒;C—配气阀;D—阀柜;E—缸体;

F—活塞;G—重锤;H—机头;I—转动套

棘轮与螺旋棒钻钎机构

1—螺旋棒;2—棘爪;3—内棘轮;4—活塞;5—转动套;6—钎子

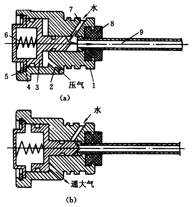
风水联动注水机构

1—大螺母;2—进气孔;3—注水阀;4—压盖;

5—密封圈;6—弹簧;7—进水孔;8—密封胶圈;9—水针

向上式凿岩机
向上式凿岩作业
导轨式凿岩机
国产风动凿岩机技术性能

第二节 凿岩机具

二、液压凿岩机

液压凿岩机是以高压油为动力推动活塞冲击钎子,附有独立回转机构的一种凿岩机械。组成:

  • 冲击机构:借助配油阀使高压油交替地进入活塞的前后油腔形成压力差,使活塞做往复运动。
  • 转钎机构:转钎机构为独立机构,由液压马达带动一组齿轮再带动钎子转动的。
  • 排粉系统:采用侧向供水排出岩粉。
液压凿岩机

二、液压凿岩机

凿岩台车又称钻孔台车,它能移动并支持多台凿岩机同时进行钻眼作业,可大大提高钻眼机械化程度。

凿岩台车主要由凿岩机、钻臂(凿岩机的承托、定位和推进机构)、钢结构的车架、行走机构以及其他附属设备组成。凿岩台车按用途可分为掘进台车、锚杆台车和采矿台车。按行走方式分为轨轮式、履带式和轮胎式三种。

轮胎式全液压双臂掘进凿岩台车
凿岩台车作业中
液压凿岩机的主要技术性能指标

二、液压凿岩机

相对风动凿岩机,液压凿岩机的主要优点如下:

  • 钻速快(比风动凿岩机高2倍以上),冲击功高、扭矩大、频率高;
  • 噪声降低10~15dB,消除了油雾水汽,使工作环境大为改善;
  • 效率高、能耗低(为风动凿岩机的1/3左右);
  • 功率具有可调性,可钻较深和大直径的炮孔;
  • 便于自动化控制,卡钻事故少,钻具寿命长。

第二节 凿岩机具

三、电钻

电钻是采用旋转式钻眼法破岩,并用电能为动力的钻眼机械。按使用条件,电钻又分为煤电钻岩石电钻两种。

煤电钻工作时靠人力推顶产生轴推力。

岩石电钻的构造与煤电钻基本相同,可在中等硬度(f = 4~8)岩石中钻眼。与冲击式凿岩机相比,由于直接利用电能,能量利用效率高,设备简单,以切削方式破岩,钻速高,噪声低。岩石电钻装设有推进机械,以便对钻头施加较大的轴推力。岩石电钻的破岩效率与钻速高的优点,只有在钎杆能承受较大扭矩,钎刃耐磨,钎头寿命长的情况下才能实现。

煤电钻机构

1—电动机;2—风扇;3~6—减速器齿轮;7—电钻心轴;8—麻花钻杆;9—钎头

煤电钻
岩石电钻
电钻的类型和技术参数
钻机优缺点比较

第三节 钻眼工具

钻眼工具是安装在钻眼机械上用以破碎岩石的器材。

一、凿岩机的钎子

凿岩机上多使用组合钎子,它是由活动钎头钎杆组成。组合钎子可以更换钎头,提高钎杆的利用率,钎头修磨时可减少钎杆的搬运量,并有利于研制高质量的硬质合金钎头,以适用不同岩性和凿岩机对钎头的不同需要。现场多使用组合钎子。

还有一种整体钎子,其钎头与钎杆是不能拆开的,钎头直接在钎杆上锻造出来。整体钎子的特点是传递冲击能量损失小,但钎头修磨时钎子搬运的工作量大。

一、凿岩机的钎子

组合钎子

1—钎头;2—锥形梢头;3—钎杆;4—中心孔;5—钎肩;6—钎尾;7—钎头孔

钎杆 3 后部的钎尾 6 插入凿岩机转动套筒内,直接承受冲击力与回转力矩。

钎尾 6 前面的钎尖 5 起限制钎尾 6 插入凿岩机机头长度的作用,并便于卡钎器卡住钎子,防止钎子脱落。

水针插入钎尾,压力水通过钎杆中心孔 4 从钎头孔7喷出冲洗岩粉。

活动钎头 1 与钎杆 3 多采用锥形连接,锥体角约为 3°30'。

1. 钎头形状

  • 一字形钎头的冲击力集中,凿入深度大,钻速较高,制造和修磨工艺简单,应用比较广泛。其缺点是:凿裂隙性岩石时容易夹钎,直径磨损较快,有时凿出的炮眼不圆,且开眼困难。
  • 十字形钎头基本上能克服上述缺点,但与一字形钎头比较,其钻速一般较低,而且合金片用量大,制造与修磨工艺比一字形钎头复杂。
  • 球齿钎头由在钎头体上镶嵌几颗球形或锥球形硬质合金齿而成,适用于在磨蚀性较高的硬脆岩层中钻眼。其优点是可根据炮眼底面积合理布置球齿,使冲击能量在眼底均匀分布,以提高破岩效率;凿岩时开眼容易、不易夹钎、炮眼较圆;重复破岩少,岩屑呈粗颗粒状,粉尘少;耐磨,凿岩速度较高。
活动钎头

(a) 一字形钎头;(b) 十字形钎头;(c) 球齿钎头

活动钎头

2. 钎头参数

  • 刃角:钎头两个刃面夹角,一般90°~120°,多为110°;
  • 隙角:钎头体两侧面夹角,镶合金片钎头3°,球齿钎头7°;
  • 钎刃:一字型钎刃端面常做成曲率为18mm的弧型,球齿钎头周边齿向外倾斜30°~35°;
  • 钎头直径:38~43㎜,保证药卷装入炮眼;
  • 排粉沟:布置在钎头顶端和侧面的排出底部岩浆的沟槽;
  • 钎头材料:除硬质合金片外的钎头部分称为钎头体,材料多为合金钢。镶嵌在钎头上的硬质合金为钨钴类合金,具有高硬度、高耐腐性、高抗压强度,韧性好的特点。

3. 钎杆

钎杆是承受活塞冲击力和回转力矩并将他们传递到钎头的细长杆体。

  • 断面形状:中空六角形和中空圆形。
  • 材料:钎钢。中空8铬、中空55硅锰钼、中空35硅锰钼钒、中空40锰钼钒等。
  • 钎尾:承受和传递能量的部位,钎尾规格和淬火硬度对凿岩速度有很大的影响。
  • 钎肩:六角形钎杆用环形钎肩,圆形钎杆用耳形钎肩。
钎杆

第三节 钻眼工具

二、电钻钻具

煤电钻钻具

1—钻头;2—方槽;3—尾孔;
4—麻花钻杆;5—钎尾

1. 煤电钻钻具

煤电钻的钻具由钻头 1 和麻花钻杆 4 组成。钻杆前部的方槽 2 和尾孔 3 是用来插入钻头的,钻头插入后,从尾孔 3 上的小圆孔中插入销钉固定钻头。麻花钻杆尾部 5 车成圆柱形,用以插入电钻的套筒内。套筒前端有两条斜槽,可以卡紧在麻花螺纹上,以传送回转力矩。

麻花钻杆用菱形断面或矩形断面T7、T8钢加热状态扭制而成,螺纹方向与钻头旋转方向一致。钻杆除了传递轴向压力和扭矩外,还能利用螺旋沟槽排出钻粉。

电钻钻头

(a) 煤电钻钻头;(b) 两翼型岩石电钻钻头

煤电钻钻具

第四节 压风供应

空气压缩机亦称压风机,是矿山四大固定设备之一(通、压、排、提升)。通过空气压缩机,可将自由空气压缩到所需要的压力而成为压缩空气,用以驱动风动机具,如风钻、风镐、抓岩机、风水泵、空气锤、铆钉机、锻钎机等。在矿山岩巷开拓中广泛应用的喷射混凝土技术,也是用压缩空气做喷射动力的。此外,矿山还经常用压缩空气进行清理水仓,驱动副井上、下口的风动操车设备和主井上、下口风动装卸载设备。因此,必须设置多台空气压缩机组成的压缩机站,以满足对压气的需求。

第四节 压风供应

用空气压缩机产生的压缩空气作原动力,与使用电力相比较有如下优点:

  1. 在有瓦斯的矿井中,可以避免因电动机具产生的电火花而引起的瓦斯爆炸;
  2. 不会因为过载而损坏机具。适用于钻削坚硬岩石的冲击式和负载变化很大的风动工具;
  3. 压缩空气可进行能量储存,不凝结,输送方便;
  4. 压缩空气以及风动机具排出的空气,不污染环境,并有助于井下的通风。

尽管压风机和风动机具的效率较低,风动机具工作时的震动和噪声较大,但是,有上述优点,因而压风机仍然广泛地应用于煤矿生产中。

压缩空气的基本生产过程
常用空气压缩机的主要技术特征
固定螺杆压风机
移动式压风机
压风机房储气罐

作 业

  1. 根据破岩原理,钻眼方法分为哪几类?其代表机具各是什么?
  2. 与风动凿岩机相比,液压凿岩机有什么优点?
  3. 常用的钎头、钻头形状有哪些?其使用条件是什么?
  4. 空气压缩机有哪些用途?在煤矿中为什么多采用压缩空气为动力?

  谢谢!

返回目录
返回首页