如何浏览?
	
		- 从浏览器地址栏打开 https://zimo.net/ck/;
 
		- 点击章节列表中的任一链接,打开相应的演示文稿;
 
		- 点击链接打开演示文稿,使用空格键或方向键导航;
 
		- 按f键进入全屏播放,再按Esc键退出全屏;
 
		- 按Alt键同时点击鼠标左键进行局部缩放;
 
		- 按Esc或o键进入幻灯片浏览视图。
 
	
	请使用最新版本浏览器访问此演示文稿以获得更好体验。
	目 录
	
		- 放顶煤采煤法
 
		- 大采高一次采全厚采煤法
 
		- 薄煤层综采技术
 
		- 充填开采技术
 
		- 急倾斜煤层采煤方法
 
	
	第1节 放顶煤采煤法
	
		
		放顶煤液压支架
	
	第1节 放顶煤采煤法
	
		- 放顶煤采煤法
 
		- 沿煤层底板或煤层某一厚度范围内的底部布置一个采煤工作面,利用矿山压力将工作面顶部煤层在工作面推进过后破碎冒落,并将冒落顶煤予以回收的一种采煤方法。
 
	
	第1节 放顶煤采煤法
	
		- 破煤:采煤机割煤、矿山压力、重力作用;
 
		- 装煤:依靠采煤机滚筒配合弧形挡煤板、以及液压千斤顶推移带铲煤板的前刮板输送机将煤装到前刮板输送机,顶煤冒落到后刮板输送机;
 
		- 运煤:刮板输送机⇒转载机⇒运输平巷皮带;
 
		- 支护:放顶煤液压支架;
 
		- 采空区处理:以全部垮落法为主,移架后顶板在支架后方自动冒落。
 
	
	第1节 放顶煤采煤法
	一、放顶煤采煤法的分类
	
		
		预采顶分层放顶煤采煤法
	
	1. 预采顶分层放顶煤采煤法
	沿煤层顶板布置一个长壁工作面,用炮采、普采或综采进行预采。这种方法由于在顶层铺设金属网,可以减少放落煤中的含矸量。缺点:需要掘进顶、底两个工作面的区段平巷及安装两个工作面的设备;开采顶分层后一般矿山压力减弱,不利于放落煤的破坏,常有大块煤出现,需要松动爆破。
	一、放顶煤采煤法的分类
	
		
		预采中分层放顶煤采煤法
	
	2. 预采中分层放顶煤采煤法
	先在距煤层底板约3m处布置一个破煤工作面,进行预采。而后再沿底板布置一个放顶煤工作面,采出沿底板的煤层并回收采空区破碎了的顶煤。这种方法易于回收顶煤,但当底板起伏不平时,很难保证放顶煤工作面采高一致。同时,因为顶煤预先受到破坏,对于易于自然发火煤层,容易导致采空区煤的自燃,且放顶煤时煤尘较大。
	一、放顶煤采煤法的分类
	
		
		整层开采放顶煤采煤法
	
	3. 整层开采放顶煤采煤法
	沿底板布置一个放顶工作面采煤并回收顶煤。优点:回采巷道掘进量及维护量少;工作设备少;采取运输、通风系统简单;实现了集中生产;顶煤在矿山压力作用下易于回收。缺点:煤质较软时,工作面运输及回风巷维护困难。
	一、放顶煤采煤法的分类
	
		
		分段放顶煤采煤法
	
	4. 分段放顶煤采煤法
	当煤层厚度超过20m乃至几十米、上百米时,可以将特厚煤层分为10~12m的若干分段。上下分段前后保持一定距离,同时采两个分段,或者一个一个逐段下行回采。采用这种方法时,可以在第一个放顶煤工作面进行铺网,使以后各分段放顶煤工作都在网下进行,以提高煤的采出率和减少煤的含矸量。也可以根据顶板岩性不铺网。
	一、放顶煤采煤法的分类
	5. 大采高综放采煤法
	大采高综放采煤法是大采高综采技术和综放开采的综合技术,割煤高度为3.5~5.0m,采放比为1:3左右,应用大功率电牵引采煤机、大工作阻力放顶煤液压支架、大运量前后部刮板输送机等成套设备,实现14~20m特厚煤层的整层开采,工作面生产能力可实现年产10Mt以上。
	一、放顶煤采煤法的分类
	
		
		按采煤工艺方式分类
	
	一、放顶煤采煤法的分类
	
		
			
			二柱掩护式低位放顶煤支架
		
		
			
			四柱支撑掩护式低位放顶煤支架
		
	 
	一、放顶煤采煤法的分类
	低位放顶煤液压支架特点:
	
		- 采煤机割煤和放顶煤各用一台刮板输送机;
 
		- 放煤口为整个支架尾梁;
 
		- 后输送机铺在底板上,煤尘小,煤炭采出率高,目前广泛使用。
 
	
	第1节 放顶煤采煤法
	二、放顶煤工艺
	
		
		放顶煤工艺流程
	
	
		
		顶煤破坏过程
		A-初始破坏区;B-破坏发展区;C-裂隙发育区;D-垮落破碎区
	
	二、放顶煤工艺
	1. 采煤机采煤
	与单一中厚煤层一样,采煤机可以从工作面端部或中部斜切进刀。采用双向割煤往返一次进一刀,下行割煤、上行装煤。距滚筒12~15m处推移输送机,完成一个综采循环。根据顶煤放落的难易程度,放顶煤工作在完成一个、两个或三个综采循环以后在检修班或放顶班进行。
	二、放顶煤工艺
	2. 放顶煤
	放顶煤工作多从下部向上部,也可以从上部向下部,逐架或隔一架或隔数架依次进行。一般放顶煤沿工作面全长一次进行完毕即一轮放完,如顶煤较厚,也可以两轮放完。在放煤过程中,如有片帮预兆,宜停止放煤。当放煤口出现矸石时,应关闭放煤口。
	二、放顶煤工艺
	
		- 采放比
 
		- 煤层开采高度与放顶煤高度之比。
 
	
	
	
根据实测,顶煤破碎塑性区范围一般可达煤层采高的3倍左右。我国缓倾斜煤层综放面采放比一般控制在1:1~3之间。《煤矿安全规程》第68条的规定,放顶煤开采采放比必须大于1:3。
	
		
		放顶煤采煤法工作面布置
	
	第1节 放顶煤采煤法
	三、放顶煤采煤法的优缺点和适用条件
	
		- 优点:(高产高效)
		
			- 在工作面采高不大的情况下,可大大增加一次开采的厚度,用于特厚煤层的开采;
 
			- 简化巷道布置,减少巷道掘进工作量;
 
			- 提高采煤工效;
 
			- 降低吨煤生产费用。
 
		
		 
		- 缺点:
		
			- 部分放顶煤工作面采出率很低;
 
			- 容易导致煤炭自燃;
 
			- 高瓦斯煤层容易导致工作面瓦斯积聚,煤与瓦斯突出煤层禁止使用。
 
		
		 
	
	三、放顶煤采煤法的优缺点和适用条件
	
		- 适用条件:
		
			- 适用于煤层厚度为5~20m或更厚的煤层;
 
			- 煤层倾角由缓倾斜到倾斜或急倾斜煤层;
 
			- 煤质比较松软易冒落,冒落块度不大;
 
			- 顶板容易垮落。
 
		
		 
	
	第2节 大采高一次采全厚采煤法
	一、大采高采煤法的基本特征
	大采高综采是对3.5~6.0m(上限数字一直在刷新)的厚煤层一次采全厚的开采方法。
	特点:
	
		- 产量大,采出率高,成本低;
 
		- 覆岩破坏范围大;
 
		- 工作面支架压力高;
 
		- 片帮、冒顶严重,支架稳定性差。
 
	
	链接:神东8.8米大采高一次采全高综采技术研究项目正式启动 。
	
		
		赵庄煤业配备德国艾柯夫采煤机的一次采全高综采工作面
	
	第2节 大采高一次采全厚采煤法
	二、大采高综采设备要求
	
		- 采用长摇臂采煤机,并具有足够的卧底量;采煤机具有调斜功能,以适应工作面地质条件的变化。
 
		- 工作面采落煤块度大,采煤机和输送机应有大块煤的机械破碎装备。
 
		- 大采高液压支架应具有良好的横向与纵向稳定性和承受偏载的能力;结构和性能应具有较好的防片帮能力,初撑力大、伸缩或折叠式前探梁对端面顶板及时支护;可伸缩护帮板应能平移至顶梁端部以外,且具有足够的护帮面积和护帮阻力。
 
		- 大采高工作面矿压显现强烈,支架应具有较大的支护强度和自身强度。
 
	
	第2节 大采高一次采全厚采煤法
	三、大采高综采工作面工艺特点
	
		- 初、末采高度较小,一般为3.5m左右。
 
		- 防止出现煤壁大面积片帮;
 
		- 需要防止支架歪斜、扭转甚至倒架;
 
		- 工作面端头管理困难,运输及回风巷最好沿底留顶掘进,有利于端头管理;
 
	
	第2节 大采高一次采全厚采煤法
	案例
	山东济宁唐口煤业公司大采高支架
	该套大采高综采设备所用的ZY10000/26/55型液压支架,其支撑高度为2.6~5.5m,中心距为1.75m,工作阻力为10000kN,单架重量达37t,是淄矿集团首套高阻力、大吨位、重型高端液压支架。整套设备生产能力达到1500~2000t/h,年生产能力可达300万t。该套设备将首先在唐口矿井南部采区5301工作面使用。该工作面倾向长90m,走向长1550m,煤层平均厚度5m,可采储量为97万t,是唐口煤业公司首个高煤层精品工作面。
	
		
		山东济宁唐口煤业公司大采高支架联合试运转
	
	第3节  薄煤层综采技术
	
		
	
	第3节  薄煤层综采技术
	一、薄煤层滚筒采煤机综采技术
	薄煤层滚筒采煤机的特点:
	
		- 采高低,要有足够的过煤和过机空间高度,要求采煤机机身矮和薄,有足够的功率;
 
		- 采煤机机身尽可能短,以适应煤层的起伏变化;
 
		- 有较强破岩过地质构造能力;
 
		- 三机配套设备要求结构简单、可靠,便于维护和安装;
 
		- 尽可能实现割煤、移架、推移输送机的远距离控制。
 
	
	一、薄煤层滚筒采煤机综采技术
	薄煤层滚筒采煤机分类及特点:
	
		
	
	
		
		薄煤层滚筒采煤机
	
	
		
		骑输送机式薄煤层采煤机
	
	
		
		爬底式薄煤层采煤机
	
	一、薄煤层滚筒采煤机综采技术
	
		我国几种主要薄煤层滚筒采煤机的技术参数
		
	
	一、薄煤层滚筒采煤机综采技术
	应用案例:
	2003年大同煤矿集团晋华宫矿使用国产薄煤层滚筒式MG200/450-WD采煤机,在煤层厚1.2~1.5m的煤层,实现了最高日产量为6766t ,最高月产量为160309 t,年产量101万t。
	第3节  薄煤层综采技术
	二、薄煤层刨煤机综采技术
	刨煤机采煤的特点:
	
		- 以刨头为工作机构,采用刨削方式破煤;
 
		- 刨煤机的截深较浅(30~120mm),充分利用煤层的压张效应,刨削力及单位能耗小;
 
		- 牵引速度大(20~40m/min,快速刨煤机150m/min);
 
		- 刨煤块度大(平均切屑断面积为70~80cm2),煤尘少;
 
		- 结构简单、可靠,刨头高度低(约300mm),实现薄煤层、极薄煤层的机械化采煤;
 
		- 工人不必跟机操作,可在顺槽内进行控制。
 
	
	二、薄煤层刨煤机综采技术
	刨煤机采煤的特点:
	缺点:对地质条件的适应性不如滚筒式采煤机,调高不易实现,开采硬煤层比较困难,刨头与输送机和底板的摩擦阻力大,电动机功率利用率低。
	
		
		刨煤机
	
	
		
		刨煤机
	
	
		
		刨煤机工作面
	
	
		
		刨煤机工作面
	
	二、薄煤层刨煤机综采技术
	
		
		刨煤机刨煤、运煤部分整体布置剖面图
		1-刨头;2-输送机槽;3-刨链;4-拖板;
5-加高块;6-护链罩;7-挡板;8-电缆;9-底刀
	
	第3节  薄煤层综采技术
	三、螺旋钻综采技术
	
		- 螺旋钻采煤机是在用于露天开采的螺旋钻机的基础上逐步改造成型的。
 
		- 螺旋钻采煤机可以从巷道两侧双向钻孔采煤,不需要辅助的转载设备便可回收落煤。
 
		- 螺旋钻采煤法在我国刚刚起步,主要用于极薄煤层开采,它属于一种无人工作面开采方法。
 
		- 螺旋钻采煤机组传递扭矩和钻压给螺旋钻,钻采条带里的煤,并完成采煤过程的送钻和退钻。
 
		- 螺旋钻由一个左旋一个右旋的两节钻杆和它们中间的风管组成。钻头的切割部分是一个执行机构,它由三个钻头组成。右边的螺旋钻通过减速箱传扭矩给中间钻头。
 
	
	三、螺旋钻综采技术
	适用条件:
	
		- 采宽:1.905~2.105m;
 
		- 采深:向上85m,向下45m;
 
		- 准备巷道净断面不小于11.2m2,巷道坡度±3°,卧底不小于0.6m,通风依赖于全矿井通风负压;
 
		- 煤层厚度0.6~0.9m,煤层倾角±15°,煤的切割的阻力不大于350kN/m;
 
		- 煤的坚固性系数f<6。
 
	
	三、螺旋钻综采技术
	
		
		螺旋钻采煤机
		1-螺旋钻杆;2-中间通风管;3-轴承座;4-钻头;5-变速器;6-控制箱
	
	三、螺旋钻综采技术
	
		
		螺旋钻采煤机
	
	
		
		螺旋钻机钻头割煤
	
	
		
		钻机在顺槽中工作状态
		1-单轨吊;2-螺旋钻采煤机;3-固定油缸;
4-调斜油缸;5-刮板运输机;6-节式钻杆
	
	三、螺旋钻综采技术
	
		
		钻采工作面设备布置示意图
	
	第4节 充填开采技术
	
		- 在井下或地面用矸石、砂、碎石等物料充填采空区,达到控制岩层运动及地表沉陷的目的。
 
		- 充填开采有提高煤炭采出率,充分利用资源,有效控制地压,减少或消除地表沉降及可在“三下”开采等优点,加上采空区可以用废石来充填,可减少矸石等废物的对方及环境污染,改善矿区生态环境,是煤矿绿色开采的重要组成部分。
 
	
	第4节 充填开采技术
	
		
	
	第4节 充填开采技术
	一、膏体充填技术
	把煤矿附近的煤矸石、粉煤灰、炉渣、劣质土、城市固体垃圾等固体废物在地面加工成“无临界流速、不需脱水”的膏状浆体,利用充填泵和重力作用输送到井下,实时充填采空区,凝固形成覆岩支撑体系的采矿方法。
	一、膏体充填技术
	1. 充填材料
	膏体充填技术采用的充填材料主要是煤矸石(需要经过破碎和筛分)、粉煤灰、炉渣、矿渣、城市垃圾、劣质土等,加工成膏状浆体,一般膏体充填材料质量浓度大于75%,目前最高浓度达到88%,一般需要采用大型充填泵送至充填地点。
	2. 充填工艺
	膏体充填工艺流程主要包括材料准备、配制浆液、管道输送、工作面充填4大部分。整个充填系统主要由膏体充填固体废物加工、充填材料储存、充填材料配置、膏体泵送、充填体构筑、检测控制、粉尘防治等构成。
	第4节 充填开采技术
	二、超高水材料充填技术
	先分别向水中按比例添加A料和AA料、B料和BB料,配制成两种以水为主要成分的、具有高流动性的浆体,然后通过定量泵输送至充填工作面,在进入充填区之前进行混合,使流入采空区的混合浆体在可控时间内胶结、凝聚,达到设计强度,以实现充填采空区,控制围岩变形,避免地表下沉的目的。
	二、超高水材料充填技术
	1. 充填材料
	
		- 由两种主料和两种外加剂组成,主料包括A料、B料,外加剂包括AA料、BB料。
 
		- A料以铝土矿、石膏等独立炼制而成,B料由石膏、石灰等混磨成主料,AA料为复合缓凝分散剂,BB料为复合速凝剂。
 
		- 超高水材料A、B单浆液可持续数小时不凝固,混合后浆液可快速发生反应并凝结硬化,最终凝结体的水体积比和水灰比分别可高达97%和11:1,调整外加剂配方可改变凝结时间及材料性能。
 
	
	二、超高水材料充填技术
	2. 充填工艺
	充填工艺与膏体充填相似,主要包括材料准备、配料制浆、管道输送、工作面充填四部分。配制浆料需A、B料分别加水搅拌,两种浆体分别通过管路输送,一般靠自流输送即可。在充填点附近两种浆体通过混合器和混合管混合,灌注到充填空间内,可迅速固化成型。
	目前常用的充填方式为采空区全袋(包)式充填法。该种方式需要在支架移出一定空间后,在后部挂设充填包,然后向充填包内灌注超高水混合材料。
	
		
		超高水材料采空区全袋式充填法示意图
	
	第4节 充填开采技术
	三、固体废弃物直接充填技术
	直接利用煤矸石,经过破碎,掺一定量的粉煤灰,通过投料井直接投入井下,然后通过井下带式输送机或刮板输送机运送至充填工作面,通过一个附带充填刮板输送机和捣实机构的特种充填支架,实现采空区充填。
	三、固体废弃物直接充填技术
	
		
		工艺流程
	
	三、固体废弃物直接充填技术
	
		
		充填液压支架结构
	
	三、固体废弃物直接充填技术
	
		
			
			综合机械化固体充填采煤示意图
		
		
			
			固体充填材料垂直连续
输送系统原理
		
	 
	三、固体废弃物直接充填技术
	
		
			
			工作面前部采煤工况
		
		
			
			工作面后部充填工况
		
	 
	三、固体废弃物直接充填技术
	
		
			
			自移式固体充填物料转载输送机
		
		
			
			固体充填物料多孔底卸式
输送机井下工况
		
	 
	第4节 充填开采技术
	四、高水材料巷式充填开采技术
	
		- 主要采用粉煤灰、石灰、脱硫石膏、水泥、矿渣粉等矿物废料作为充填材料,在地面制成水灰比(0.6~0.8):1,质量浓度为55%~62%高含水浆体材料,一般通过管道自流输送至井下。
 
		- 在充填开采区域通过连续采煤机或综掘系统开掘巷道,然后在巷道的两端构筑密闭墙,在一端密闭墙上插管向巷道内灌注充填浆液,固结后即可形成充填体。
 
		- 巷式充填开采方式,充填和开采实现了分离,互相影响程度小。
 
	
	第5节  急倾斜煤层采煤方法
	一、急倾斜煤层开采特点
	
		- 煤、岩块会自动滑落造成危害;
 
		- 用溜煤眼代替运输上山,采用自溜运输,见下页图;
 
		- 多采用立井多水平开采方式,水平垂高一般为100~150m,采区走向长度更短;
 
		- 上层煤开采会使下层煤遭受破坏,应合理安排上下层的开采顺序。
 
	
	
		
		采区上山眼布置
		1-采区运输石门;2-采区溜煤眼;3-运料眼;4-行人眼;5-联络巷;
6-区段运输巷;7-区段回风巷;8-采区回风石门;9-采区煤仓
	
	一、急倾斜煤层开采特点
	
		
		急倾斜煤层群开采顺序
		1、2、3、4-开采顺序
	
	第5节  急倾斜煤层采煤方法
	二、急倾斜煤层采煤方法
	
		
		倒台阶工作面支架
		1-溜煤眼;2-脚手架;3-护身板
	
	1. 倒台阶采煤法
	工作面沿倾斜方向呈倒台阶布置,目的在于充分利用工作面长度,使工人在各个台阶阶檐的保护下,多点同时作业。
	二、急倾斜煤层采煤方法
	1. 倒台阶采煤法
	
		- 工作面落煤一般用风镐或用炮采。落煤一般先从上隅角开始,然后逐次沿台阶面向下采。采空区处理多用全部垮落法。
 
		- 工作面采出的煤,沿工作面自溜,经溜煤眼到区段运输巷,用输送机运至采区溜煤眼,下放至采区石门装车外运至井底车场。
 
		- 新鲜风流经行人眼、运料眼、区段运输巷进入回采工作面、然后经回风巷、采区回风石门排至区段回风平巷。
 
		- 工作面所需的材料、设备一般由回风石门运入,沿回风巷送至工作面。下区段工作面用料,可用运料眼中安装的小绞车提升至区段回巷道,再送至各采煤工作面。
 
		- 工作面长度为40m~50m左右,一般由2~3个台阶组成。
 
	
	二、急倾斜煤层采煤方法
	1. 倒台阶采煤法
	优点:巷道系统简单,掘进率底,采出率高,通风方便。
	缺点:生产工艺复杂,工作面支护和顶板控制工作量大,操作不便,以及坑木消耗大,安全条件差,工作面难以实现机械化等。
	二、急倾斜煤层采煤方法
	2. 正台阶采煤法
	在急斜煤层的阶段或区段内沿倾斜或伪斜方向布置正台阶形工作面而沿走向推进的采煤方法。
	现将沿伪斜方向布置正台阶工作面的正台阶采煤法又称伪斜短壁采煤法或斜台阶采煤法。
	二、急倾斜煤层采煤方法
	2. 正台阶采煤法
	
		
		伪斜短壁采煤法工作面布置图
		1-回风石门;2-运输石门;3-工作面回风巷;4-工作面运输巷;5-伪斜小巷;6-竹笆;7-胶带挡煤板;8-支柱;9-放煤插板;10-溜槽
	
	二、急倾斜煤层采煤方法
	2. 正台阶采煤法
	该采煤法是将一个在上下区段平巷之间的伪斜长壁工作面分为若干个短壁工作面,短壁工作面呈正台阶状布置。
	每个短壁工作面沿倾斜长5m左右,沿层面与走向线30°夹角的伪斜方向间距为15m~20m。长壁工作面沿走向推进,始终保持沿倾斜方向的短壁工作面沿30°伪斜方向推进。
	二、急倾斜煤层采煤方法
	短壁工作面上方利用木支柱、竹笆护顶使假采空区冒落矸石形成的垫层构成人工顶板以隔离采空区,该人工顶板与伪斜煤壁之间为一小巷,作为短壁工作面行人、运料、通风、溜煤的通道。
	短壁工作面用风镐落煤,采落的煤先堆积于其下部伪斜小巷的溜煤槽内。各小巷内设挡煤板,当煤堆积到一定高度时,停止采煤,开始从下向上去掉挡煤板放煤。为防止煤炭窜到人工顶板上造成损失,可挂一胶皮挡煤板,使煤流落到伪斜小巷内。
	
	二、急倾斜煤层采煤方法
	2. 正台阶采煤法
	采用木支柱支护,木支柱支在沿顶底板的护板上,排距和柱距约为0.8m~1.0m。人工顶板支柱支在柱窝内,上有短梁,支柱上仰5°。
	短壁工作面用人工回柱,回撤工作面支柱前,先补人工顶板柱和加强支柱,再铺上竹笆,然后按矸石堆积的斜面,由下而上,由采空区向煤壁回收支柱。并使矸石滚到新铺的人工顶板上。
	放顶时短壁工作面停止生产,并挡住上短壁工作面的煤流,使回柱放顶与采煤交替进行。
	二、急倾斜煤层采煤方法
	2. 正台阶采煤法
	优点:
	
		- 工作面位于采空区下方,不会积聚瓦斯,为采空区抽放瓦斯创造了条件;
 
		- 工作面浮煤少,采出率高,减少了采空区自然发火的隐患;
 
		- 对煤层厚度和倾角多变化、瓦斯含量大等地质条件适应性较强;
 
		- 巷道布置简单、掘进率低。
 
	
	缺点:
	
		- 短壁工作面多,溜煤相互干扰,工作面利用率低;
 
		- 伪斜小巷断面小,煤尘大;
 
		- 落煤方法、支护设备有待改进;
 
		- 容易发生片帮滑底事故。
 
	
	二、急倾斜煤层采煤方法
	3. 水平分层及斜切分层采煤法
	水平分层采煤法:把煤层沿水平面划分成若干分层,并在每个分层中布置准备巷道及采煤工作面,然后顺次进行回采,采煤工作面一般沿走向推进。
	二、急倾斜煤层采煤方法
	3. 水平分层及斜切分层采煤法
	
		- 水平分层采煤法分层间的开采顺序及采空区处理方法,有下行垮落法和上行(下行)充填法。我国煤矿都采用的是下行垮落法。
 
		- 在双翼采区的中间,沿煤层底板布置一组上山眼。采区沿倾斜分为5~6个区段,区段高度一般为15m~20m。区段内的分层数目一般为5~7个,每个分层的厚度为2.2m~2.8m。
 
	
	二、急倾斜煤层采煤方法
	3. 水平分层及斜切分层采煤法
	
		
		水平分层下行垮落采煤法采区巷道布置
		1-采区运输石门;2-采区溜煤眼;3-采区行人眼;4-采区运料眼;
5-区段运输石门;6-溜煤眼;7-分层平巷;8-分层采煤工作面;
9-区段回风平巷;10-回风石门
	
	二、急倾斜煤层采煤方法
	3. 水平分层及斜切分层采煤法
	斜切分层采煤法:当煤层厚度较大时,例如大于7~8m,工作面人工攉煤距小眼太远,很困难,而且扩散通风效果很差。这时,可以采用斜切分层方法,使工作面向溜煤小眼方向倾斜25°~30°角,利用搪瓷溜槽溜煤,以减轻攉煤的繁重劳动。为了克服扩散通风的缺点,可沿顶板再掘一条分层平巷,并用斜煤门与沿底板的分层平巷贯通。
	二、急倾斜煤层采煤方法
	3. 水平分层及斜切分层采煤法
	
		
		斜切分层采煤法分层平巷布置
		1-区段运输平巷;2-区段回风平巷(第一分层沿底板平巷);
3-第一分层沿顶板平巷;4-小眼;5-斜煤门
	
	二、急倾斜煤层采煤方法
	3. 水平分层及斜切分层采煤法
	优点:
	对煤层地质条件适应性强,能适应煤层倾角和厚度的变化,采出率较高。
	缺点:
	巷道布置和通风系统复杂,巷道掘进量大,回采工序多,通风运料困难,工作面劳动强度大,特别是水平分层工作面,人工攉煤繁重。由于这些缺点,这种采煤方法的产量、效率较底,材料消耗较多。
	二、急倾斜煤层采煤方法
	4. 伪倾斜柔性掩护支架采煤法
	采煤工作面成直线形,按伪倾斜方向布置,沿走向推进;用柔性掩护支架隔离采空区与回采空间,工作人员在掩护支架的保护下进行采煤工作。
	二、急倾斜煤层采煤方法
	4. 伪倾斜柔性掩护支架采煤法
	采区巷道布置:
	
		- 采区运输石门1通入煤层后,向上掘进一组上山眼,布置区段运输平巷6、回风平巷7,在采区边界开掘一对开切眼10,用于回采开始阶段的运输、通风和行人。然后即可安装支架,进行回采工作。正常的采煤工作面应有25°~30°的伪倾斜角。回采时,为了溜煤、行人、通风和运料,在工作面下端掘进超前平巷,并沿走向每隔5 m左右,由区段运输平巷回风巷向上开掘小眼与超前平巷贯通。
 
		- 工作面落下的煤,自溜至区段运输平巷6,再运至采区溜煤眼3,在石门装车外运。新鲜风流从采区石门进入,经行人眼区段运输平巷6,到采煤工作面。废风从工作面经区段回风巷7到采区石门2排出。
 
	
	二、急倾斜煤层采煤方法
	4. 伪倾斜柔性掩护支架采煤法
	掩护支架的结构:
	柔性掩护支架主要由钢梁及钢丝组成。钢丝绳沿走向布置,钢梁沿煤层厚度布置。钢梁与钢绳进行联结。在钢梁上部铺设双层荆笆,用作隔离采空区矸石和折架子时的人工假顶。这种架子结构,其有柔性切便于控制和回收。
	
		
		伪倾斜柔性掩护支架采煤法巷道布置
		1-采区运输石门;2-采区回风石门;3-采区溜煤眼;4-采区运料眼;5-采区行人眼;6-区段运输平巷;7-区段回风平巷;8-采煤工作面;9-收作眼;10-开切眼;11-架头移动轨迹线;12-采煤工作面;13-溜煤小眼;14-永久封闭墙;15-小眼临时封闭
	
	
		
			
			柔性掩护支架结构
			1-工字钢;2-钢丝绳;3-荆笆条;
4-压木;5-撑木
		
		
				
			
			支架的安装
		
	 
	二、急倾斜煤层采煤方法
	4. 伪倾斜柔性掩护支架采煤法
	 回采工作大致可分为三个阶段:即准备回采、正常回采和收尾工作。
	
		- 准备回采:主要是在回风平巷内安装掩护支架,并逐步下放成为伪倾斜工作面,为正常回采做准备。
 
		- 正常回采:在正常回采过程中,除了在掩护支架下回采外,同时要在回风平巷中扩巷、挖地沟,加长掩护支架,以及在工作面下端的顺槽中拆除支架。在支架下采煤,目前主要用打眼爆破。
 
	
	二、急倾斜煤层采煤方法
	
		
		掩护支架采煤工作面收尾
	
	收尾工作:当工作面推进到区段停采线附近时,在停采线靠工作面一侧掘进两条收尾上山眼,然后加大工作面上部的下放步距,缩小工作面下部的进尺,同时逐渐缩小工作面长度和伪倾斜角度,直至变成水平状态。最后将支架全部拆除。
	二、急倾斜煤层采煤方法
	
		- 优点:产量高,效率高,工序简单,操作方便,生产安全,掘进率底等 。
 
		- 缺点:掩护支架的宽度不能自动调节,难以适应煤层厚度的变化。
 
		- 适用条件:当煤层厚度为1.5m~6.0m,倾角大于55°,在一个条带内煤层比较稳定的条件下,应优先选用伪倾斜柔性掩支架采煤法,其工作面伪倾角度一般不小于25°,工作面长度一般为30m~60m,年进度可达480m~660m。
 
	
	二、急倾斜煤层采煤方法
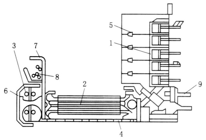
	5. 水平分段放顶煤采煤法
	 在急斜特厚煤层中,水平分段放顶煤采煤法类似于水平分层采煤法,其差别是按一定高度划分为分段,在分段底部采用水平分层采煤法的落煤方法(机采或炮采),分段上部的煤炭由采场后方放出运走。这样,各段依次自上而下使用放顶煤采煤工艺进行回采。
	二、急倾斜煤层采煤方法
	
		
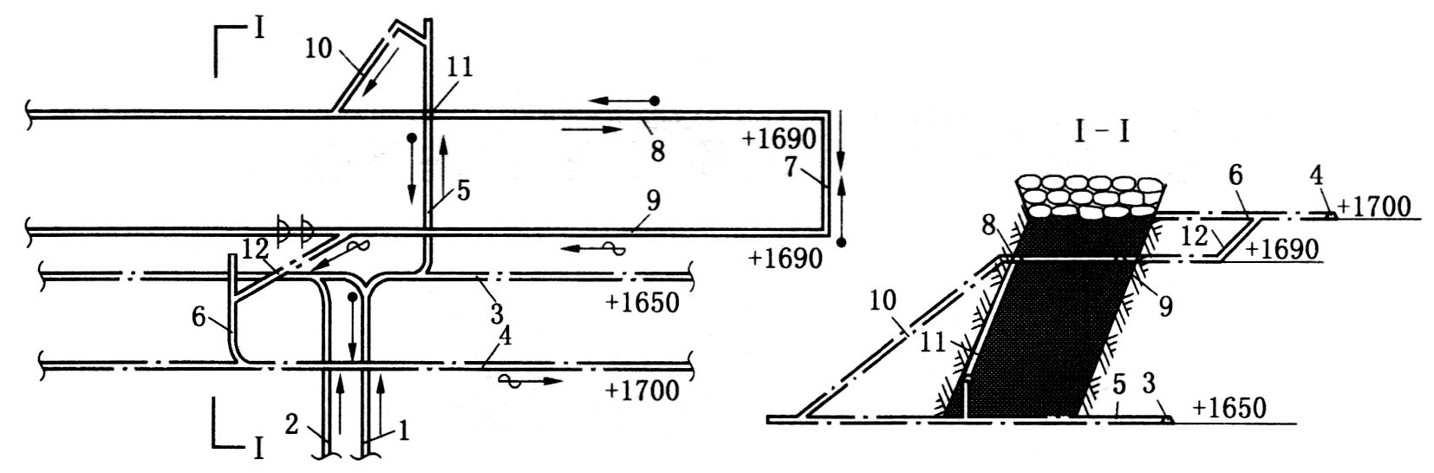
		水平分段放顶煤采煤法巷道布置
		1-主斜井;2-副斜井;3-+1650 m运输大巷;4-+1700 m回风大巷;5-+1650 m运输石门;6-+1700 m回风石门;7-开切眼;8-运输巷;9-回风巷;10-进风斜巷;11-溜煤眼;12-回风斜巷
	
	二、急倾斜煤层采煤方法
	 急斜煤层综采放顶煤的采煤工艺过程及其参数选择的原则与缓倾斜煤层放顶煤采煤法基本相同。由于在急斜煤层中水平分段放顶煤工作面的长度受煤层厚度限制,根据我国的煤层条件,一般在60m以下。由此,对采煤设备有一些特殊要求。主要是要求适用于短工作面的短机身采煤机及其与之相配套使用的输送机。液压支架的型式并无差异,只是根据采场压力显现特征,可适当减小工作阻力及其重量。我国生产有MGD150-NW型采煤机,为无链牵引采煤机,包括滚筒在内,全长只有3m。它的摇臂出轴位于机身中部,能自由回转270°。
	二、急倾斜煤层采煤方法
	
			- 与短机身采煤机配套使用的SGI-730/90W型工作面刮板输送机的特点是:机头和机尾短而矮;在机头和机尾的侧帮上也设有齿轨。从而使采煤机能直接开到机头或机尾上部,滚筒能割透端部,进人巷道。这样,采煤机可从巷道人刀,不需专开切口。
 
			- 采煤工艺过程为:割煤、移架、推移输送机和放顶煤。一般割煤进刀量为0.5m。放煤自底板向顶板方向依次进行,放煤方式与缓倾斜放顶煤时大体相同,可以采用多轮顺序或单轮间隔顺序。顶煤高度较大、顶煤裂碎不充分时,一般用多轮放煤。为了发挥综采设备效能,一般工作面长度宜大于25m。