如何浏览?
	
		- 从浏览器地址栏打开 https://zimo.net/ck/;
 
		- 点击章节列表中的任一链接,打开相应的演示文稿;
 
		- 点击链接打开演示文稿,使用空格键或方向键导航;
 
		- 按f键进入全屏播放,再按Esc键退出全屏;
 
		- 按Alt键同时点击鼠标左键进行局部缩放;
 
		- 按Esc或o键进入幻灯片浏览视图。
 
	
	请使用最新版本浏览器访问此演示文稿以获得更好体验。
	目 录
	
		- 基本概念
 
		- 采煤方法分类
 
		- 爆破采煤工艺
 
		- 普通机械化采煤工艺
 
		- 综合机械化采煤工艺
 
		- 单一走向长臂采煤法采煤系统
 
	
	第1节 煤炭资源介绍
	一、采场和采煤工作面
	用来直接大量采取煤炭的场所,称为采场。在采场内进行回采的煤壁,称为采煤工作面。
	二、采煤工作
	在采场内,为了采取煤炭所进行的一系列工作,称为采煤工作。采煤工作可分为基本工序和辅助工序:
	
		- 基本工序:破煤,装煤,运煤;
 
		- 辅助工序:支护,采空区处理。
 
	
	第1节 煤炭资源介绍
	三、采煤工艺
	按照一定顺序完成各项工作的方法及其配合,称为采煤工艺。在一定时间内,按照一定的顺序完成采煤工作各项工序的过程,称为采煤工艺过程。
	四、采煤系统
	采煤巷道之间在时间上的配合以及在空间上的相互位置关系,称为采煤巷道布置系统,简称为采煤系统。
	
	第1节 煤炭资源介绍
	
	五、采煤方法
	采煤工艺与采煤系统在时间上、空间上相互配合,总称为采煤方法。根据不同的矿山地质及技术条件,可有不同的采煤系统与采煤工艺相配合,从而构成多种多样的采煤方法。
	第2节  采煤方法分类
	
		
		采煤方法分类
	
	第2节  采煤方法分类
	一、壁式体系采煤方法
	又称为长壁体系采煤法,以长壁工作面采煤为主要标志。特点:
	
	
		- 采煤工作面长度较长,通常在80m以上;
 
		- 顶板暴露面积大,矿山压力显现较为强烈;
 
		- 采煤工作面可分别用爆破、滚筒式采煤机或刨煤机破、装煤,用与采煤工作面相平行铺设的刮板输送机运煤,用支架支护工作空间,用放顶垮落法或充填法处理采空区;
 
		- 在采煤工作面两端,一般至少各有一条回采巷道,构成完整的生产系统。
 
	
	
	一、壁式体系采煤方法
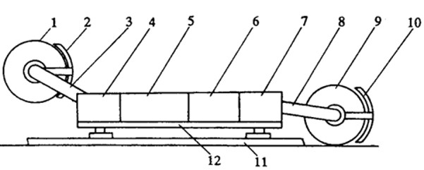
	1. 薄及中厚煤层单一长壁采煤方法
	
		
		单一长壁采煤法示意图
		1、2-区段运输、回风平巷;3-采煤工作面;4、5-分带运输、回风斜巷
	
	一、壁式体系采煤方法
	1. 薄及中厚煤层单一长壁采煤方法
	
		
		刀柱式采煤法示意图
	
	一、壁式体系采煤方法
	2. 厚煤层分层开采的采煤方法
	
		
		厚煤层分层方法
		1-顶板;2-底板
	
	一、壁式体系采煤方法
	3. 厚煤层整层开采的采煤方法
	
		- 缓斜厚煤层(煤厚3.5~5.0m):一次采全厚;
 
		- 缓斜厚煤层(煤厚一般大于5m):放顶煤开采;
 
		- 急斜煤层:工作面俯斜布置,依靠重力下放工作面支架,为有效地进行顶板管理创造条件,在煤层赋存较稳定条件下可成功采用掩护支架采煤法,实现整层开采。
 
	
	一、壁式体系采煤方法
	优点与发展趋势:长壁体系采煤方法适用性强,可广泛用于不同厚度、倾角、围岩条件的煤层,并为发展综合机械化创造了有利条件,采出率高,在世界范围内有进一步发展的趋势。
	第2节  采煤方法分类
	二、柱式体系采煤方法
	以房柱间隔进行采煤为主要标志。特点:
	
		- 在煤层内布置一系列宽为5~7m的煤房,采煤房时形成窄(短)工作面成组向前推进。房与房之间留设宽度数米至二三十米不等的煤柱,每隔一定距离用联络巷贯通,构成生产系统,并形成条状或块状煤柱支撑顶板;
 
		- 采房时矿山压力显现较缓和,用锚杆支护工作空间,支护较简单;
 
		- 采煤用爆破或连续采煤机配套设备,在一组房内交替作业;
 
		- 采掘合一,掘进准备也是采煤过程,回收房之间的煤柱时,也使用同一种类型的采煤配套设备。
 
	
	二、柱式体系采煤方法
	
		
		房柱式采煤法示意图
		1-房;2-煤柱;3-采柱
	
	二、柱式体系采煤方法
	
		
		横滚筒连续采煤机
	
	二、柱式体系采煤方法
	
		
	
	二、柱式体系采煤方法
	适用条件:高度机械化的柱式体系采煤方法应用条件严格,主要适用于近水平薄或中厚煤层,煤层顶板中等稳定以上,瓦斯含量低,开采深度不大的中小型矿井,美国、澳大利亚、加拿大、印度、南非等国家应用较多。
	第2节  采煤方法分类
	三、房柱式与长壁工作面配合的采煤方法
	
		
		房柱式与长壁工作面配合的采煤方法
	
	第三节  爆破采煤工艺
	
		
			
			
			炮采工作面
		
		
			
		
	 
	第三节  爆破采煤工艺
	
		- 破煤:爆破落煤;
 
		- 装煤:爆破装煤,人工装煤,机械装煤(通过液压千斤顶推移刮板输送机,依靠刮板输送机前方的铲煤板将煤装入刮板输送机);
 
		- 运煤:工作面刮板输送机⇒转载机⇒运输平巷皮带;
 
		- 支护:单体液压支柱配合金属铰接顶梁;
 
		- 采空区处理:以全部垮落法为主。
 
	
	第三节  爆破采煤工艺
	一、爆破落煤
	
		
	
	一、爆破落煤
	
		
		炮眼布置图
		a-单排眼;b-双排眼;c-三排眼
	
	一、爆破落煤
	
		
		工作面钻眼
	
	第三节  爆破采煤工艺
	二、装煤与运煤
	
		
		爆破装煤示意图
	
	装煤方法:
	
	二、装煤与运煤
	主要依靠刮板输送机将煤运到工作面下端头,通过转载机转运到区段运输平巷皮带上。
	
		
			
			刮板输送机
		
		
			
			刮板输送机链条
		
	 
	第三节  爆破采煤工艺
	三、工作面支护与采空区处理
	1. 工作面支护
	炮采面使用单体支柱和铰接顶梁的支架布置形式。
	
		
			
			单体液压支柱
		
		
			
			铰接顶梁
		
	 
	
		
		乳化液泵站
	
	三、工作面支护与采空区处理
	2. 采空区处理
	
		
		全部垮落法回柱放顶工序
	
	
		
		炮采面循环作业图
		面长100m,四班交叉,每班交叉2小时,Ⅰ、Ⅲ班采煤班,Ⅱ、Ⅳ班以准备为主,采煤班装煤、支柱。准备班运料、回柱放顶、钻眼、放炮、移输送机、少量装煤、支柱。工作面放两次炮,支两排支架,放一次顶, 一天一个循环。
	
	第4节 普通机械化采煤工艺
	
		
		单滚筒采煤机
	
	第4节 普通机械化采煤工艺
	
		
		双滚筒采煤机
	
	第4节 普通机械化采煤工艺
	
		- 破煤:采煤机(或刨煤机等)割煤;
 
		- 装煤:两种方式,首先使用采煤机滚筒配合弧形挡煤板将煤装入刮板输送机,然后通过液压千斤顶推移刮板输送机,依靠刮板输送机前方的铲煤板将煤装入刮板输送机;
 
		- 运煤:刮板输送机⇒转载机⇒运输平巷皮带;
 
		- 支护:单体液压支柱,与炮采面类似;
 
		- 采空区处理:以全部垮落法为主。
 
	
	
	第4节 普通机械化采煤工艺
	
		
		单滚筒采煤机结构
		1-挡煤板;2-螺旋滚筒;3-摇臂减速器;4-固定减速器;
5-牵引部减速器;6-主链轮;7-辅助链轮;8-电动机;
9-电缆架;10-锚链;11-底托架;12-输送机槽
	
	第4节 普通机械化采煤工艺
	
		
		双滚筒采煤机结构
		1、9-螺旋滚筒;2、10-挡煤板;3、8-摇臂减速器;4、7-固定减速器;
5-牵引部;6-电动机;11-输送机槽;12-底托架
	
	
		
		普采工作面布置
	
	第4节 普通机械化采煤工艺
	一、采煤机割煤及装煤
	
		- 人工爆破开切口(机窝):
		
			- 上切口:6~10m
 
			- 下切口 :2~3m
 
			- 切口宽:2~3m
 
		
		 
		- 下缺口有可能不开:
		
		
 
	
	一、采煤机割煤及装煤
	
		
			1. 双向割煤、往返一刀
			
				- 采煤机在工作面下切口,上行割顶煤,追机挂顶梁。(右图(a))
 
				- 至上切口后,下降摇臂,翻转挡煤板,下行割底煤并清理浮煤。(右图(b))
 
				- 自输送机机尾追机移置输送机,在梁下支柱直至下切口。(右图(c)、(d))
 
			
			采煤机往返进一刀。
			优缺点:适用性强,无需人工清理浮煤;无立柱控顶时间长;工人工作量不均衡。
		 
		
			
			双向割煤、往返一刀
		
	 
	一、采煤机割煤及装煤
	2. “∞”字形割煤、往返一刀
	
		- 采煤机在工作面中部输送机设弯曲段,滚筒逐步升高,上行割顶煤;
 
		- 割至上切口后,下降摇臂,翻转挡煤板,下行割底煤并清理浮煤,期间全工作面输送机移直;
 
		- 采煤机到工作面中部后,上升摇臂,下行割顶煤;
 
		- 至下切口后,下降摇臂,翻转挡煤板,上行割底煤并清理浮煤到工作面中部。
 
	
	采煤机往返进一刀。
	优缺点:无立柱控顶时间减半;工人工作量均衡;割煤过程中采煤机能自行进刀。
	在中厚煤层单滚筒采煤机普采工作面中常采用。
	
		
		“∞”字形割煤、往返一刀
	
	一、采煤机割煤及装煤
	
		
			3. 单向割煤、往返一刀
			
				- 采煤机自工作面下(或上)缺口向上(或下)沿顶割煤,随机清理顶煤、挂梁,必要时可打临时支柱。
 
				- 机器割至上(或下)缺口后,翻转弧形挡煤板,快速下(或上)行装煤及清理机道丢失的底煤,并随机推移输送机,支设单体支柱,直至工作面下(或上)缺口。
 
			
			适用于采高1.5m以下的较薄煤层,滚筒直径接近采高,顶板较稳定,煤层黏顶性强,割煤后顶煤不能及时垮落等条件。
		 
		
			
			
			单向割煤、往返一刀
		
	 
	一、采煤机割煤及装煤
	
		
			4. 双向割煤、往返两刀
			又称穿梭割煤。
			
				- 上行割煤、挂梁、推移输送机、清理浮煤、支柱。
 
				- 下行重复上行时工序。
 
			
			适用于煤层较薄且煤层厚度和滚筒直径相近的普采面。
			普采工作面使用双滚筒采煤机时,一般也采用双向割煤往返两刀的割煤方式。该方式在综采面普遍采用。
		 
		
			
			
			双向割煤、往返两刀
		
	 
	第4节 普通机械化采煤工艺
	二、普采工作面单体支架
	1. 支架布置方式
	
		
		单体支架正悬臂与倒悬臂布置
	
	二、普采工作面单体支架
	2. 支架布置特点
	
		
		支架齐梁式或错梁式布置
		1-临时柱;2-正式柱
	
	
		
		普采面循环作业图
		两采一准,一昼夜一循环,单向割煤,三五排控顶。
	
	第5节  综合机械化采煤工艺
	
		
		综采工作面
	
	第5节  综合机械化采煤工艺
	
		
			
			掩护式液压支架
		
		
			
			支撑掩护式液压支架
		
	 
	第5节  综合机械化采煤工艺
	
		- 破煤:采煤机(或刨煤机等)割煤;
 
		- 装煤:两种方式,首先使用采煤机滚筒配合弧形挡煤板将煤装入刮板输送机,然后通过液压千斤顶推移刮板输送机,依靠刮板输送机前方的铲煤板将煤装入刮板输送机;
 
		- 运煤:刮板输送机⇒转载机⇒运输平巷皮带;
 
		- 支护:液压支架;
 
		- 采空区处理:以全部垮落法为主,移架后顶板在支架后方自动冒落。
 
	
	
		
		综采面布置
	
	第5节  综合机械化采煤工艺
	一、综采面双滚筒采煤机割煤方式
	1. 往返一次割两刀
	工艺过程:
	
		- 上行割煤
		
			- 移架(滞后采煤机2~3架支架)
 
			- 推移输送机(滞后采煤机10~15m)
 
		
		 
		- 下行割煤
		
			- 移架(滞后采煤机2~3架支架)
 
			- 推移输送机(滞后采煤机10~15m)
 
		
		 
	
	一、综采面双滚筒采煤机割煤方式
	2. 往返一次割一刀
	工艺过程:
	
		- 割煤
 
		- 移架(滞后采煤机2~3架支架)
 
		- 反向清理浮煤
 
		- 推移输送机(滞后采煤机10~15m)
 
	
	适用条件:
	
		- 顶板稳定性差;
 
		- 煤层倾角大,不能自上而下移架;
 
		- 输送机易下滑,只能自下而上移;
 
		- 采高大而滚筒直径小,不能一次采全厚;
 
		- 采煤机装煤效果差,需单独安排装煤行程。
 
	
	二、综采面液压支架的移架方式
	
		
		液压支架移架方式
	
	二、综采面液压支架的移架方式
	
		- 单架依次顺序式:支架沿采煤机牵引方向依次前移,移动步距等于截深,支架移成一条直线。操作简单,易保证移架质量,能适应不稳定顶板,用的较多。
 
		- 分组间隔交错式:支架分组,每组3~5架,组内顺序前移,组间平行作业。移架快,移架质量不易保证,要求顶板较稳定。
 
		- 成组整体依次顺序式:支架分组,每组2~3架。组内联动,整体移架,组间顺序前移。移架快,质量不易保证,要求顶底板条件好。
 
	
	三、综采面工序配合方式
	
		
			割煤后,按推移输送机与移架的先后关系,分:
			
				- 及时支护:先移架,后推移输送机;
 
				- 滞后支护:先推移输送机,后移架。
 
			
			两者由设备结构及尺寸决定,使用时不能改动。
		 
		
			
			及时支护方式
		
	 
	
		
		综采面循环作业图
		两班半采煤,半班准备,双向割煤,日进7刀。