如何浏览?
	
		- 从浏览器地址栏打开 https://zimo.net/ck/;
 
		- 点击章节列表中的任一链接,打开相应的演示文稿;
 
		- 点击链接打开演示文稿,使用空格键或方向键导航;
 
		- 按f键进入全屏播放,再按Esc键退出全屏;
 
		- 按Alt键同时点击鼠标左键进行局部缩放;
 
		- 按Esc或o键进入幻灯片浏览视图。
 
	
	请使用最新版本浏览器访问此演示文稿以获得更好体验。
	目 录
	
		- 煤田划分为井田
 
		- 矿井生产能力和服务年限
 
		- 井田内开采单元的划分
 
		- 井田生产系统和开采顺序
 
		- 矿井巷道
 
	
	煤矿床的主要开采方法
	
		
		我国煤炭产量大部分
来自地下开采
	
	
	煤矿开采有地下开采(又称井工开采)和露天开采两种。
	我国煤炭大部分为地下开采。
	煤矿地下开采需要进行的工作
	
		- 从地面开凿通道(井硐)通至地下;
 
		- 在地下开掘一系列巷道和硐室进入煤体;
 
		- 在煤体中布置出开采场所,构成生产系统:
		
			- 建立完善的开采、运输、通风、排水、提升、动力、照明灯生产系统;
 
			- 制定出妥善的、合理的安全生产技术措施。
 
		
		 
		- 安全、合理和经济地进行生产。
 
	
	基本概念
	
		- 煤田
 
		- 在地质历史过程中,同一地质时期形成并大致连续发育的含煤岩系分布区。
 
		- 煤矿
 
		- 以开采煤炭资源为对象和任务的工业企业,是能够独立完成煤炭资源开采任务的基本生产单元。煤矿具有一套完整的、独立的煤炭生产系统。
 
		- 井田
 
		- 划归一个煤矿开采的范围。
 
		- 矿井
 
		- 在一个井田上进行开采的煤矿。
 
		- 矿区
 
		- 由于行政或经济上的原因,往往将临近几个井田划归为一个行政机构管理,而将这临近的井田合起来称为矿区。
 
		- 井田开拓
 
		- 在一个井田范围内,主要巷道的总体部署及其有关参数的确定叫井田开拓,又称矿井开拓。
 
	
	
		
		煤田、井田、矿井和矿区之间的关系
	
	第1节 煤田划分为井田
	一、煤田划分为井田的原则
	1. 煤田划分为井田的原则
	
		- 井田范围、储量、煤层赋存及开采条件要与矿井生产能力相适应;
 
		- 保证井田有合理的尺寸;
 
		- 充分利用自然等条件划分井田;
 
		- 合理规划矿井开采范围,处理好相邻矿井之间的关系 。
 
	
	
		
		井田境界划分示意图
	
	第1节 煤田划分为井田
	二、井田境界的划分方法
	
		
		深浅部井田划分示意图
	
		
		1 .垂直划分
		
		2. 水平划分
	二、井田境界的划分方法
	3. 按煤组划分
	
		
		按煤组划分矿界并集中建井
	
	按煤层间距的大小来划分矿界,即把煤层间距较小的相邻煤层划归一个矿开采,将煤层间距较大的煤层划归另一个矿开采。右图 Ⅰ 矿与 Ⅱ 矿是按煤组划分矿井边界并同时建井。
	第2节 矿井生产能力和服务年限
	一、矿井生产能力
	
		- 矿井生产能力
 
		- 矿井一年内生产煤炭的数量。又称矿井年产量或井型。
 
	
	目前我国煤矿井型与设计生产能力之间的对应关系:
	
		- 大型矿井: 1.2、1.5、1.8、2.4、3.0、4.0、5.0及5.0Mt/a以上(其中3.0Mt/a及其以上又称特大型矿井);
 
		- 中型矿井: 0.45、0.6、0.9Mt/a;
 
		- 小型矿井: 0.3Mt/a及以下;
 
		- 新建矿井不应出现介于两种设计生产能力的中间类型;
 
		- 扩建矿井,扩建后的矿井设计生产能力,应在原设计生产能力或核定生产能力的基础上,按前三条所列井型规定升二级级差及以上。
 
	
	第2节 矿井生产能力和服务年限
	二、矿井服务年限
	
	
		- 矿井服务年限
 
		- 一个矿井从投产到报废的开采年限。
 
	
	
	
		
	
	储量备用系数应视井田内地质条件而定,一般为1.1~1.4。地质条件简单时取小值,地质条件复杂时取大值。
	《煤炭工业矿井设计规范(GB50215–2005)》有关矿井设计服务年限的规定:
	
		新建矿井设计服务年限
		
	
	
		扩建后的矿井设计服务年限
		
	
	第3节 井田内开采单元的划分
	一、井田划分为阶段
	
		
		井田划分为阶段示意图
	
	在井田范围内,沿煤层倾斜方向,按一定标高把煤层划分为若干个平行于走向的长条部分,每个长条部分具有独立的生产系统,称之为一个阶段。
	一、井田划分为阶段
	阶段大小用阶段走向长和阶段斜长来表示。阶段走向长与该阶段所在位置的井田走向长度一致。阶段斜长由阶段垂高和该阶段处煤层倾角决定。阶段垂高指阶段上、下边界之间的垂直高度,等于阶段上、下边界面标高之差。
	当矿井划分为阶段开采时,其阶段垂高宜为:
	
		- 缓倾斜、倾斜煤层 200~350m;
 
		- 急倾斜煤层 100~250m。
 
	
	一、井田划分为阶段
	一般用水平面作为阶段上、下边界,叫水平。水平位置用标高来表示,如 +50m 水平、-150m水平等。布置有井底车场和主要运输大巷,并担负该水平开采范围内的主要运输和提升任务的水平称作开采水平。
	一个开采水平可以只为一个阶段服务,也可以为该水平上、下两个阶段服务。所以一个矿井的开采水平数目和阶段数目不一定相等。
	一个井田可以用一个开采水平采完,也可能用两个或以上开采水平才能采完,这要视井田煤层赋存条件和井田尺寸大小而定。前者叫单水平开拓,后者叫多水平开拓。
	一、井田划分为阶段
	一般而言,阶段与水平的区别在于:阶段表示井田范围的一部分,水平是指布置大巷的某一标高的水平面。广义的水平不仅表示一个水平面,同时也指一个范围,即包括所服务的相应阶段。
	一般情况下,矿井只以一个阶段(或开采水平)保证矿井年产量。为了保证矿井稳定、均衡生产,避免水平接替紧张,矿井第一水平应该有足够的服务年限。
	第3节 井田内开采单元的划分
	二、井田划分盘区
	当煤层倾角较小,甚至接近水平时,没有必要再按照标高划分阶段。这时,沿煤层主要延展方向布置主要大巷,将井田分为两翼,然后以大巷为轴将两翼分成若干适宜开采的块段,每个块段叫一个盘区。每个盘区通过盘区石门与主要大巷相连,构成相对独立的生产系统。
	
		
		井田划分为盘区
	
	第3节 井田内开采单元的划分
	三、井田分区域划分
	
		
		分区域建井的井田划分示意图
	
	对一些特大型矿井,采用了分区域开采的办法。将整个井田划分成若干个区域,每个区域相当于一个小井田,进一步划分成阶段、盘区等。
	三、井田分区域划分
	采用区域划分,各区域既可同时建井,缩短建井工期,又可分期建井,分期投产,减少初期投资。采用集中主提升、分区域辅助提升和通风的模式,即可以采用大型提升设备、降低运营费,又可以大大降低辅助生产环节的费用。
	第3节 井田内开采单元的划分
	四、阶段内再划分
	
		
		阶段内分区布置
	
	1. 分区式划分
	或称采区式划分,是最常用的方法。
	将阶段沿煤层走向划分成若干块段,每个块段叫一个采区。
	采区斜长等于阶段斜长。采区走向长度应根据开采技术条件和采煤方法确定。不同采区的走向长度不一定相同。每个采区都有独立的运输和通风系统。
	1. 分区式划分
	
		
		采区上山位置
	
	在采区内要开掘沿倾斜方向的巷道将阶段主要运输巷和主要回风巷沟通,形成生产系统为整个采区服务。这种倾斜巷道叫做采区上(下)山,其中担负运煤任务的叫做运输上(下)山,担负运送材料、设备任务的叫做轨道上(下)山。采区上(下)山可以沿煤层布置,也可以沿煤层底(或顶)板岩石布置。
	采区上(下)山可以布置在采区沿走向中央,也可以布置在采区沿走向边界。前者在采区上(下)山两侧均可布置回采工作面,称为双翼采区;后者只能在采区上(下)山的一侧布置回采工作面,称为单翼采区。
	1. 分区式划分
	
		
		采区
	
	由于采区倾斜长度等于阶段倾斜长度,可达数百米甚至上千米,还需将采区沿倾斜方向划分成更小的单元,这些小单元叫区段。
	在区段上部需要沿煤层走向开掘煤层巷道,用于回风和运料,称为区段回风巷;在区段下部沿煤层走向开掘煤层平巷,用于进风和运煤,称为区段运输巷。区段回风巷和区段运输巷掘至采区边界,沿煤层倾斜方向开掘巷道(称为开切眼),将二者贯通后,即可在开切眼内装备采煤工作面。
	区段回风巷和区段运输巷分别通过采区车场或溜煤眼与采区上(下)山相连。
	1. 分区式划分
	
	
		- 优点:布置灵活,对地质条件的变化适应性强,便于调控和管理,是我国目前应用最多的阶段内划分方法。
 
		- 适用性:适用于大多数情况。
 
	
	四、阶段内再划分
	2. 分带式
	
		
		阶段内分带布置
    	
    	将整个阶段沿走向划分成若干倾斜长条,每个倾斜长条内布置一个倾斜长壁采煤工作面,沿煤层倾斜方向推进,这种划分方式成为分带式布置,或称带区式布置。
	每个条带内沿走向在两侧开掘煤层斜巷,分别担负条带的运煤、运料和通风任务,并与阶段主要运输巷和主要回风巷相连。
	2. 分带式
	
		- 优点:省去了采区上(下)山及其生产环节,系统简单,运输环节少,井巷工程量小,建井工期短,煤柱损失小。
 
		- 缺点:斜巷掘进量大,特别是下山掘进时,如果煤层倾角较大和涌水量大,则掘进困难,效率低;辅助运输复杂,工作面沿倾斜方向推进对采煤机械稳定性要求高。
 
		- 适用性:适用于煤层平缓(倾角小于12°)、煤厚不大(薄及中厚煤层)和地质构造简单的井田。
 
	
	四、阶段内再划分
	
		
		阶段内分段布置
	
	3. 分段式
	对于走向长度较小的井田,将整个阶段看作一个采区,沿走向方向不再划分,而是沿倾斜方向划分为若干分段,每个分段(相当于采区内的区段)内布置工作面。分段走向长度等于阶段走向长度。整个阶段布置一套上(下)山,回采巷道布置同采区式的区段平巷。
	3. 分段式
	
		- 优点:由于整个阶段作为一个采区,可大大减少准备工作量。工作面走向长度大,减少了工作面搬家次数并且大大简化了生产系统。
 
		- 缺点:对地质条件变化的适应性较差。
 
		- 适用性:走向短、煤层埋藏稳定、倾斜构造少的井田。
 
	
	
		
		井田再划分
	
	第四节 井田内的开采顺序
	
		
	
	第5节 矿井巷道
	一、巷道的名称及分类方法
	1. 按空间位置和形状划分
	
		- 垂直巷道:立井、暗立井、溜井
 
		- 倾斜巷道:斜井、暗斜井、上山、下山
 
		- 水平巷道:平硐、平巷、石门、煤门
 
	
	
		
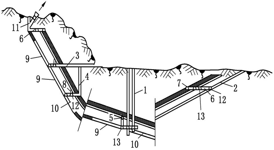
		矿井巷道
		1-立井;2-斜井;3-平硐;4-暗立井;5-溜井;6-石门;7-煤门;
8-煤仓;9-上山;10-下山;11-风井;12-岩石平巷;13-煤层平巷
	
	1. 按空间位置和形状划分
	垂直巷道:
	
		- 立井:开口于地面的垂直巷道,是进入煤体的一种方式,又叫竖井。立井按用途分为担负提煤任务的主立井,担负全矿人员、材料、设备等辅助提升任务的副立井,还有担负矿井通风的风井。
 
		- 暗立井:没有出口直接通到地面的垂直巷道,通常装有提升设备。一般用来连接上、下两个水平,担负由下水平向上水平的提升任务。暗立井也有主暗立井和副暗立井之分。
 
		- 溜井:用来从上部向下部溜放煤炭的垂直巷道。
 
		- 平硐:有出口直接通到地面的水平巷道,是进入煤体的方式之一。按担负的任务不同分为主平硐、副平硐。
 
	
	1. 按空间位置和形状划分
	水平巷道:
	
		- 平巷:没有出口直接通到地面,沿岩层走向开掘的水平巷道。布置在岩石中的平巷叫岩石平巷,布置在煤层中的平巷叫煤层平巷。根据用途不同,平巷有运输平巷、行人平巷、进风平巷和回风平巷等。按服务范围分阶段(水平)平巷、分段平巷和区段平巷等。
 
		- 石门:没有出口直接通到地面,与岩层走向垂直或斜交的水平岩石巷道。按用途分为运输石门、进风石门、回风石门等。按服务范围分为阶段石门、采区石门等。
 
		- 煤门:与煤层走向垂直或斜交的煤层平巷。煤门长度决定于煤层厚度和倾角,一般只有在厚煤层中才布置煤门。
 
	
	1. 按空间位置和形状划分
	倾斜巷道:
	
		- 斜井:开口于地面的倾斜巷道,是进入煤体的方式之一。按用途分为主斜井、副斜井和回风斜井。按所在岩层层位分为岩石斜井和煤层斜井。按空间特征分为顺层斜井、穿层斜井、反斜井和伪斜井。
 
		- 暗斜井:没有出口直接通到地面,用来联系上、下两个水平并担负提升任务的斜巷。暗斜井也有主暗斜井和副暗斜井之分。
 
		- 上山:没有出口直接通到地面,位于开采水平之上,连接阶段运输巷和回风巷的倾斜巷道。上山有运输上山,运送材料、设备的轨道上山,担负采区回风任务的回风上山。
 
		- 下山:位于开采水平以下,作用与上山相同。
 
	
	一、巷道的名称及分类方法
	2. 按巷道在生产中的重要性划分
	
		- 开拓巷道:为全矿井、一个开采水平或阶段服务的巷道,如井筒、井底车场、阶段(或水平)运输大巷和回风大巷等。作用在于形成新的或扩展原有的阶段或开采水平,为构成矿井完整的生产系统奠定基础。
 
		- 准备巷道:为整个采区服务的巷道,如采区上(下)山、采区上下车场、采区石门等。作用在于准备新的采区、盘区或带区,以便构成采区、盘区或带区生产系统。
 
		- 回采巷道:为工作面采煤直接服务的巷道,如区段上、下平巷和开切眼等。作用在于切割出新的采煤工作面,并进行生产。
 
	
	第5节 矿井巷道
	二、矿井巷道开掘顺序原则
	
		
	
	作  业
	
		- 课本46页习题1:什么叫井田开拓?
 
		- 课本46页习题4:井田再划分方式有哪几种?如何划分?
 
		- 课本46页习题5:什么叫采区?采区具有哪些特点?